七层网络模型——OSI 标准
OSI 七层模型是一个标准,规定了机器(主要是电脑)之间如何通信。因此假如你想要让你的洗碗机和洗衣机通信的话,就需要遵从 OSI 模型,或者至少从 OSI 模型获得启发。这意味着需要遵从分层的通信方式。
关于这七层模型,有一个记忆口诀:All People Seem To Need Data Processing
翻译成英语是“似乎所有人都需要数据处理”。这一句话由七个英语单词组成,每一个的首字母正好是按第 7 层到第 1 层的首字母的顺序。
当然,👨🎓标准和实际应用还是有区别的,实际运用起来是如下的五层网络模型。
五层网络模型
比如:A 客户端 -- B 服务器传输数据:首先经过应用层,往下,到达传输层,所有的都会经过传输往下网络层,路由选择数据链路层,中继器,路由器最后到达物理层,网线 或者 无线电波
由下往上,数据组包,组好数据-->字符串或者 JSON 数据,
我们用到最多的是应用层协议,
根据 IP 地址到 Web 服务器-->操作系统-->80 端口-->Ngix-->UWSGI
解析地址--DNS,通过域名查询 IP 协议。浏览器实现了 HTTP 协议
聊天工具与 HTTP 协议不一样,如果直接与底层协议打交道,编程复杂
操作系统给我们提供了 SOCKET,一种 API,方便直接跟传输层打交道。
实现自己的应用功能,HTTP 协议单向,Socket 编程的意义。Socket 本身并不是协议,是工具,用于连接应用和 TCP/UDP 打交道,从而实现自己的协议。
Client 和 Server 实现通信
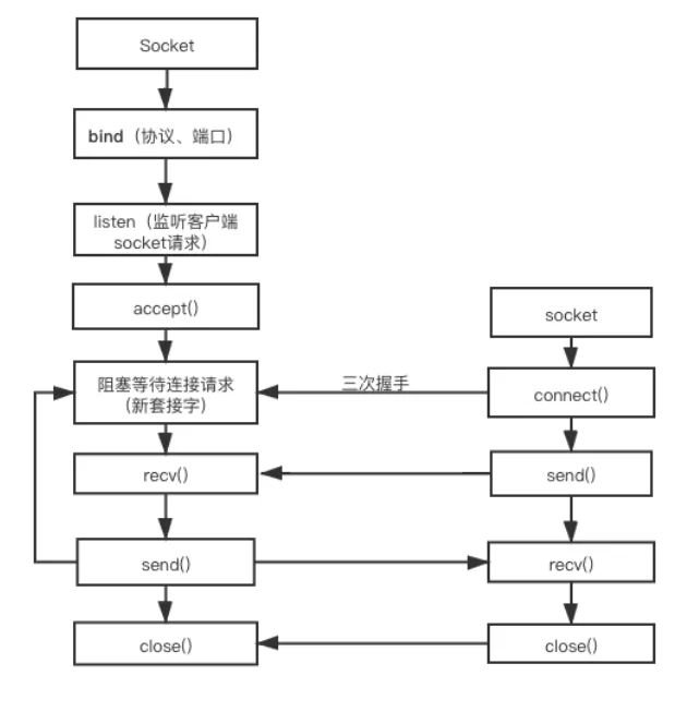
TCP 服务器和客户端连接图如下:
Python Socket 编程
简易通信:
- 创建一个服务器
server_socket.py,绑定本地 IP,端口 9999,然后进行服务监听,然后等待客户端发送数据,并打印从客户端接收到的数据。
# server_socket.py import socket # 创建套接字 server = socket.socket(socket.AF_INET, socket.SOCK_STREAM) # 绑定IP和端口,元组存储地址和端口 server.bind(('0.0.0.0', 9999)) # 服务端监听 server.listen() # accept接受到用户的请求 sock, addr = server.accept() # 接受从客户端发送的数据,一次获取1k的数据 data = sock.recv(1024) # 打印接收的数据 print(data.decode('utf8')) # 关闭服务器连接 server.close()
- 创建客户端
client_socket.py,向本地 IP,9999 端口发起连接
# client_socket.py import socket # 创建套接字 client = socket.socket(socket.AF_INET, socket.SOCK_STREAM) # 要连接的服务器 client.connect(('127.0.0.1', 9999)) # 要发送的数据 client.send('Hello, Server'.encode('utf8')) # 关闭连接 client.close()
先运行服务器程序,然后允许客户端程序,再回到服务器端控制台,可以看到如下输出:
双向通信:
# socket_server.py import socket # 创建套接字 server = socket.socket(socket.AF_INET, socket.SOCK_STREAM) # 绑定IP和端口,元组存储地址和端口 server.bind(('0.0.0.0', 8888)) # 服务端监听 server.listen() # accept接受到用户的请求 sock, addr = server.accept() # 循环发送与接收消息 while True: # 接受从客户端发送的数据,一次获取1k的数据 data = sock.recv(1024) # 打印客户端接收的数据 print('客户端:', data.decode('utf8')) # 服务器发送给客户端的数据 re_data = input('服务器:') sock.send(re_data.encode('utf8'))
# client_socket.py import socket # 创建套接字 client = socket.socket(socket.AF_INET, socket.SOCK_STREAM) # 要连接的服务器 client.connect(('127.0.0.1', 8888)) while True: # 要发送的数据 re_data = input('客户端:') client.send(re_data.encode('utf8')) # 要接收的数据 data = client.recv(1024) print('服务端:', data.decode('utf8'))
我们还是先运行服务器代码socket_server.py,接着运行客户端client_socket.py
- 客户端给服务器发送:你好,服务器。
- 在服务器端收到信息后,回复一个:Hello,客户端
- 客户端再给服务端:一起来聊天吧
演示如下:
通过这个过程,实现了单个客户端与服务器的通信,如果说一个服务器程序想同时跟多个客户端交互,就需要利用到多线程编程,这里先不讲。
Socket 编程是网络编程的重要组成部分,掌握异步 IO 和协程的前提,关于 Socket 编程还有更多内容等着学习。




