国内外大型SNS网站后台架构对比,互联网营销

简介:   要问时下什么类型的站点人气最旺?答案当属SNS网站。短短几年的时间,SNS便迅速确立了Web 2.0核心的地位。用户的增长量之快更是让人咂舌,而Facebook访问量首次超越Google的消息也让人觉得SNS的前途不可限量。

  要问时下什么类型的站点人气最旺?答案当属SNS网站。短短几年的时间,SNS便迅速确立了Web 2.0核心的地位。用户的增长量之快更是让人咂舌,而Facebook访问量首次超越Google的消息也让人觉得SNS的前途不可限量。当然,面对庞大且繁琐的数据量、面对应用的高复杂度及用户体验,大型SNS站点的后台架构成为了近期受关注的重点之一。

  在连续报道了《世界最大的PHP站点 Facebook后台技术探秘》及《专访人人网黄晶:SNS网站后台架构探秘》之后,除了看到SNS网站后台的独特风景之外,我们也看到了作为国内外SNS站点的代表,Facebook和人人网在后台技术应用上还是有很多不同的地方,当然,造成这种不同的原因有很多。这里我们将对比Facebook和人人网的后台架构,在找出这些差异的同时,我们也能够看出,跟国外相比,国内SNS网站的后台技术差距还有多大?差距在哪里?

  后台语言的选择

  作为一个大型站点,后台语言的选择意味着不同的架构路线、以及不同的开发框架。考虑到SNS网站后台架构的复杂性,可选择的语言并不多,Facebook作为一个大型LAMP网站,选择了PHP;而人人网则使用Java。当然,PHP和Java各具优势,PHP+MySQL的黄金搭档被无数站点所使用;在评价Java的优势时,黄晶老师说道,“而当项目日渐复杂的时候,Java则能通过其良好的OO特性,保持非常好的模块性,也有益于网站重构。”

  后台语言的选择有很多因素,选择哪种语言也并不重要,关键是要适合相应的生产环境,这里比较PHP与Java的优劣并没有太大的意义。但要说明的是,每种语言都有它的劣势,如何进行有效的优化才是开发者们需要思考的,就像Facebook为PHP量身打造了HipHop那样。

  数据库

  在后台架构中,数据库一直是我们关心的重点。曾经日壮山河的关系型数据库,在NoSQL运动下,仿佛显得日薄西山,这句话用在SNS站点中再合适不过了。没错,由于SNS站点的高复杂性,其对数据库的要求非常高,高性能、可扩展性以及可用性,缺一不可。

  Facebook并不是一个传统意义上的LAMP站点,MySQL也主要作为一个Key-value的持久性存储使用,而它的存储系统则是NoSQL运动的一个重要组成部分——Cassandra,它的特点也正是SNS站点所需求的,尽管很多人认为NoSQL还不够成熟,缺乏可靠性,但Facebook的成功却是一个活生生的例子。

 
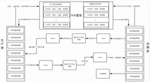
Facebook数据库架构图,请点击原图查看

  通过黄晶老师的介绍我们了解到,其实人人网也不只是在使用MySQL。Nuclear是人人网团队自主研发的分布式KV存储系统,目前已经在逐步的试用。关于Nuclear的详细介绍,可以参考人人网UGC团队博客的介绍:http://ugc.renren.com/2010/01/21/ugc-nuclear-guide-use/

  从中我们不难看出,关系型数据库已经不能满足大型SNS站点的需求,在外国大胆使用NoSQL的同时(包括Facebook、Twitter等),国内对NoSQL的使用还是显得比较谨慎,技术水平的差距,在这点上确实有所体现。从长远角度讲,特别是在SNS领域,NoSQL必将会逐步代替传统的关系型数据库。

  缓存

  缓存技术在后台架构中扮演着重要的角色。对于SNS站点来说,仅仅依靠数据库、Web服务器等软件的自身缓存机制是绝对不能满足要求的。Memcached是人人网和Facebook都用到的一个分布式内存缓存系统,其已成为互联网最有名气的软件之一了。当然,缓存的手段是多种多样的,仅仅保证日常后台的稳定运行也是不够的。面对一些突发事件,缓存机制更是尤为重要,特别是在数据库服务器与Web服务器上。

  图片存储架构

  图片会给Web服务器带来不小的压力,特别是Facebook处理的图片量(每个月超过30亿张照片被上传),非常惊人!对此,Facebook专门开发了一套图片存储架构——Haystack。

  相比于Facebook,人人网并没有一套完整的图片存储架构体系。当然,作为人人网的用户,能够感觉到进行上传图片等一些操作,还是很流畅的。说明以目前的人人网图片处理技术,能够满足目前用户的需求,以及后台的流畅运行。但架构总要着眼于未来,开发一套完整的、高效的架构体系,才是最佳的解决方案。

  SNS后台技术未来发展趋势

  相比于其他类型的站点,SNS网站后台架构更为复杂。关于SNS后台技术未来发展趋势问题,黄晶也表示,鉴于SNS网站的一些业务特点,在后台技术中,人人网最关注的仍然是高性能,可扩展性,高可用性,所以SNS网站架构中特别需要一个能灵活应对业务变化的一套健壮的分布式系统。

  在对比过人人网与Facebook的后台架构之后,我们不难看出,除了整体架构的系统性能之外,对于其中每个细节的把握,更是我们国内架构师们需要仔细思考的,这同时也需要我们的技术人员提高自身能力、敢于使用先进的技术及应用、更要勇于创新。

目录
相关文章
|
XML 数据库 数据格式
微服务技术系列教程(15) - SpringCloud - 互联网网站架构演变过程
微服务技术系列教程(15) - SpringCloud - 互联网网站架构演变过程
147 0
|
数据库 Java 数据库连接
Hibernate 实体监听器竟如魔法精灵,在 CRUD 操作中掀起自动化风暴!
【8月更文挑战第31天】在软件开发中,效率与自动化至关重要。Hibernate 通过其强大的持久化框架提供了实体监听器这一利器,自动处理 CRUD 操作中的重复任务,如生成唯一标识符、记录更新时间和执行清理操作,从而大幅提升开发效率并减少错误。下面通过示例代码展示了如何定义监听器类,并在实体类中使用 `@EntityListeners` 注解来指定监听器,实现自动化任务。这不仅简化了开发流程,还能根据具体需求灵活应用,满足各种业务场景。
159 0
|
NoSQL API 数据库
揭秘!Flask如何一键解锁RESTful API高效微服务?打造未来互联网架构的隐形力量!
【8月更文挑战第31天】本文介绍如何使用 Flask 构建高效且易维护的 RESTful 微服务,涵盖环境搭建、基本应用创建及代码详解。通过示例展示用户管理系统的 CRUD 操作,并讨论数据库集成、错误处理、认证授权、性能优化及文档生成等高级主题,助力开发者打造强大的后端支持。
272 0
自适应IT互联网营销企业网站pbootcms模板
一款蓝色自适应IT互联网营销企业网站pbootcms模板,该模板采用响应式设计,可自适应手机端,适合一切网络技术公司、互联网IT行业,源码下载,为您提供了便捷哦。
194 2
|
边缘计算 安全 物联网
未来互联网架构的演变
【8月更文挑战第16天】随着科技的不断进步,互联网作为现代社会不可或缺的基础设施,其架构也在不断地发展与演变。本文将探讨未来互联网架构可能的变化方向,包括边缘计算、软件定义网络(SDN)、网络功能虚拟化(NFV)等技术趋势,以及这些技术如何影响互联网的稳定性、安全性和效率。同时,文章还将讨论这些变革对用户隐私保护和数据治理的潜在影响,并展望互联网架构的未来发展趋势。
|
设计模式 安全 网络安全
网络编程中的互联网协议 , IP地址 , 域名 , 端口 , 架构 , 网页数据请求 , 响应码
网络编程中的互联网协议 , IP地址 , 域名 , 端口 , 架构 , 网页数据请求 , 响应码
|
架构师 开发工具 C++
最新python--类与面向对象-1,一线互联网架构师360°全方面性能调优
最新python--类与面向对象-1,一线互联网架构师360°全方面性能调优
最新python--类与面向对象-1,一线互联网架构师360°全方面性能调优
|
存储 缓存 网络协议
互联网架构与通信机制:从边缘到核心的深度解析
互联网架构与通信机制:从边缘到核心的深度解析
737 0
|
存储 Java 应用服务中间件
【分布式技术专题】「架构实践于案例分析」盘点互联网应用服务中常用分布式事务(刚性事务和柔性事务)的原理和方案
【分布式技术专题】「架构实践于案例分析」盘点互联网应用服务中常用分布式事务(刚性事务和柔性事务)的原理和方案
512 0

热门文章

最新文章