亚马逊Go推广视频:1分钟,颠覆你对线下实体购物的认知
几天前,就在亚马逊迎来可能是公司史上最大的 Holiday Season时,亚马逊发布了一段介绍旗下新的零售商店 Amazon Go 的视频,消费者可以直接走进商店,拿下货架上的货物,然后离开。整个过程不需要排队,也不用结账。
今年的12月,亚马逊通过上面这段新的视频向外界承诺,将在“2017年年初”推出第一家Amazon Go零售店。不过,除去炫酷的推广视频,关于这家“未来化的”零售店,亚马逊所提供的细节非常少。
目前为止,所有的公开信息都来自亚马逊官方网站的“问答”页面。据介绍,零售店面积将达到1800平米,主要销售快餐、知名品牌和亚马逊自己生产的预包装餐饮套装,允许消费者直接使用智能手机和 Amazon Go 应用程序进出。顾客只需在商店入口处打开 Amazon Go 手机 app 扫描一下,然后进店随便逛,拿走任何喜欢的东西,然后直接离开。不需要结账,不需要用卡付款,也不需要装袋。
从介绍视频来看,Amazon Go 看起来像一个高级便利店,货架上整齐排列着各种预制食品和便利杂货商品。使用适当的传感器,该技术可用于任何类型的零售商品。例如,很容易就能应用于亚马逊网站销售的其他数百万的时尚服饰、电子产品、家庭用品等商品。该公司表示,“Just Walk Out ” 技术利用计算机视觉、传感器融合(sensor fusion)技术以及深度学习算法来提供这种无缝的购物体验。可以想象亚马逊实体店的未来:书店、美容店、免下车杂货店、便利商店等等,全都使用这些技术。
Amazon Go 宣传视频发布后,在业界引起了强烈反响,在新智元人工智能核心微信群中,各位专家也进行了热烈的讨论。那么,专家们怎么看亚马逊这一激动人心的尝试?
专家1 (资深技术人员,与Amazon Go项目内部人员很熟):里面有N 多摄像头和3D摄像头,做了3D人体建模和行为分析。可以说,Amazon Go绝对不是 PR,做这个小店有千万美元级别的投入。
专家2 (机器人公司董事长):拍脑袋分析一下,进门扫完码后,后台系统通过3D摄像头把人体特征值与账户ID进行绑定,然后对取货的动作视频进行分析(通过深度学习来正确辨识人类取放商品的动作细节)来实时更新虚拟购物车,出门后自动支付。如果店内人流密集的化,感觉后台的实时运算量极其巨大。进门的闸机确保了客户ID能被有效辨识,但是如果是一个大人带着一个小孩,出店的时候小孩也拿着东西,而且与大人分开较远的话,系统可能就无法自动结账,不过可以出报警。
专家3(工程师):如果问题缩小到只是进出闸机那会整个人的识别, 只做一进一出的对应及出闸机时身上携带商品(用 RFID之类补充确认)的感应识别, 那似乎还在可脑补范围之内。
核心技术 Amazon Rekognition
根据官网介绍,Amazon Go 主要的识别技术叫做 Amazon Rekognition,能够在消费者购物流程中进行一系列不同类型的识别,以判断多种不同的购物场景。


六张图看懂 Amazon Go 消费过程
或许看了视频和上面的说明还稍嫌眼花缭乱,美国报纸 US Today 对 Amazon Go 的购物消费过程做了更贱简单易懂的可视化展示,下面具体看一下:

首先,消费者用手机像地铁刷卡那样,进入店铺——当然,手机上得注册有亚马逊的账户。与此同时,位于入口处的摄像头会进行人脸识别,识别的技术主要是 Amazon Rekognition。

当消费者在货架前停下来时,摄像头会捕捉并记录消费者拿起的商品,以及再次放回去的那些。

放置在货架上的摄像头会通过手势识别,消费者是拿起了一件商品(购买)还是拿起一件商品看了看又放回货架(不购买)。

店内麦克风会根据周围环境声音判断消费者所处的位置。

货架上的红外传感器、压力感应装置(记录商品被取走),以及荷载传感器(记录商品被放回)会记录下消费者取走了哪些商品以及放回了多少商品。同时,这些数据会实时传输给 Amazon Go 商店的信息中枢,每位顾客都不会有延迟。

在离店时,传感器会扫描并记录下消费者购买的商品,同时自动在消费者的账户上结算金额。
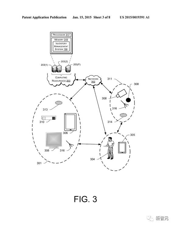
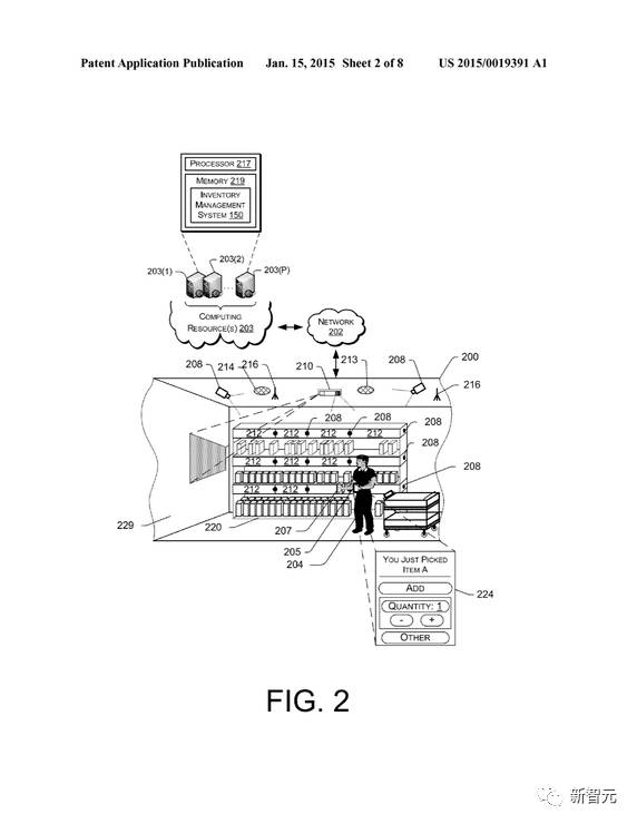
专利示意图:

可以看出,位于店内有各种传感器,包括商场安装的摄像头、商品上的重量感应器。

消费者购物过程中的具体识别过程
例如,如果消费者在零售店内购物,他不需要停下来,用现金或者与收银员沟通,或是使用自动结账台来完成付款,因为他在商店内选择的商品已经被系统记录,并通过与消费者本人相关的商品确认清单确认,所以,他们能带着选购的商品直接走出商店。
亚马逊在视频中提到,他们使用的技术包括多传感器融合,从不同传感器上获得的数据增加了判断的可信度和准确率。以下是专利文件对多传感器数据汇合的描述。
由此看来,其基本技术实现与新智元专家的推测基本一致。Amazon Go 目前已经对公司员工开放测试,预计在来年开幕。如果真正实现Demo中的一切,那将是对线下购物乃至日常生活的颠覆,也将是人工智能真正走入我们每个人生活的一个漂亮的开始。
文章转自新智元公众号,原文链接