本人今年大一的新生 我本人也是非常热爱计算机 同时也想搭建个属于自己的博客论坛 以及网站供大家学习与使用 我也有过三年的学习经历 Java html php等等
我们大学老师推荐我们使用了阿里云的服务器,当我进入官网,注册完账号看到了有学生认证,当我办完一切步骤后,我看到了“飞天加速计划·高校学生在家实践”活动,我抱着试一试的态度参加了这个活动,使用后的我大受震撼。
我呢个人喜好centos的Linux系统 因为比较方便 好操作 随后系统中的很多配置需要自己去安装 于是乎我提供 阿里云 强大的 一键部署功能 安装好了 完全不用敲代码 便自动部署完成
这个功能对新手非常非常的友好
当然了 阿里云的 防护系统也是非常的棒 有实时监控系统 自动报警
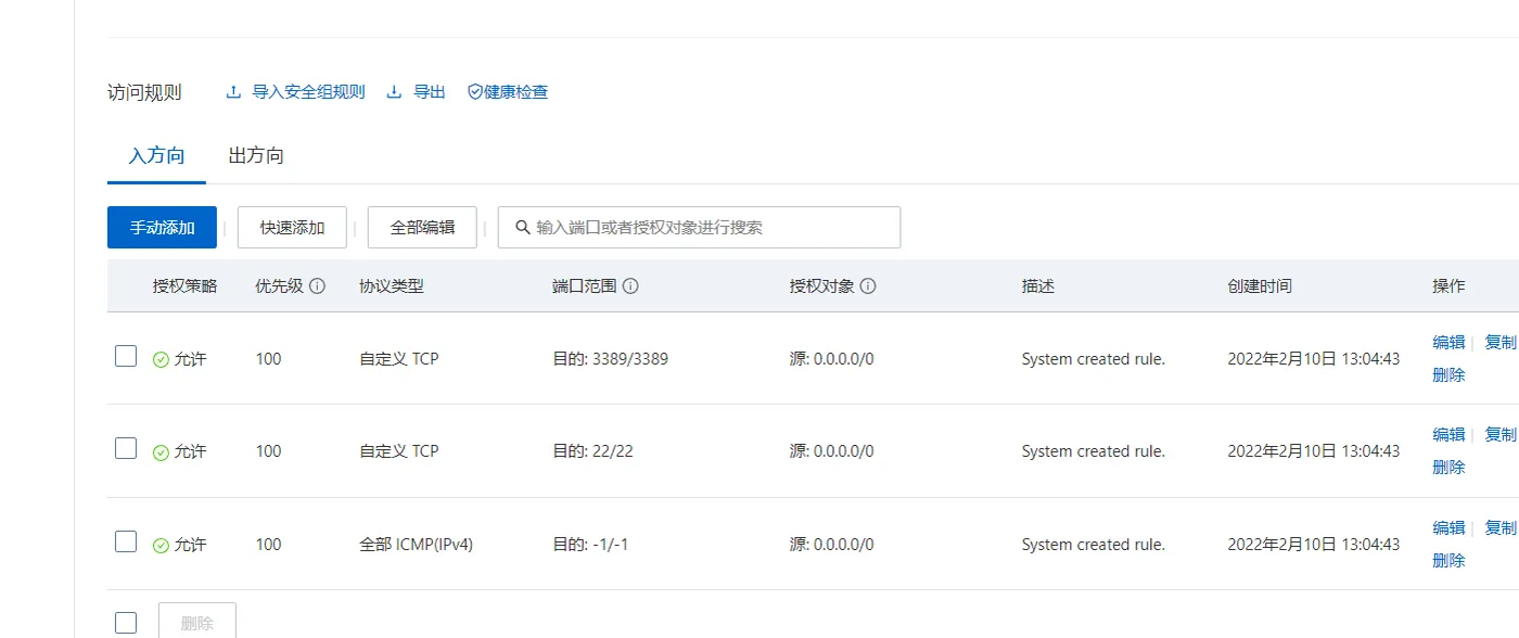
同时服务器也支持安全闸控制 对 进入端口一键控制
最后,感谢阿里云 感谢阿里云为开发者提供服务 便捷 让开发者有更多可能
