Firefox 跟踪保护技术将页面加载时间减少 44%

简介:

Mozilla开发者获得了Web 2.0 Security and Privacy 2015会议的最佳论文奖,他们的论文(PDF) 介绍了Firefox的跟踪保护技术。跟踪保护技术是一项新的隐私保护技术,通过屏蔽请求和跟踪域名去弱化侵入式的在线用户行为跟踪。Mozilla开发 者称,跟踪保护技术减少了Alexa Top 200新闻网站67.5%的HTTP cookies数量。

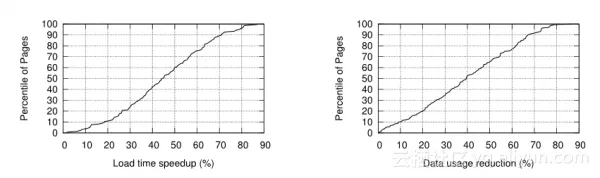
由于Firefox没有从跟踪域名下载和渲染内容,跟踪保护技术将Alexa Top 200新闻网站的页面加载时间减少了44%,数据流量减少了39%。Mozilla 从Firefox 35开始引入跟踪保护技术,但默认没有启用,要启用这项功能需要在地址栏输入about:config,然后将 privacy.trackingprotection.enabled设为true,当跟踪保护屏蔽了某些元素,用户会在地址栏左侧看到盾牌图标。


801ac23010f38325495c454a9dbd494baa2e9edf


96f5f2c36a87722982907982cf5ba49c157a31ca

文章转载自 开源中国社区 [http://www.oschina.net]

相关文章
|
8天前
|
人工智能 开发工具 iOS开发
Claude Code 新手完全上手指南:安装、国产模型配置与常用命令全解
Claude Code 是一款运行在终端环境中的 AI 编程助手,能够直接在命令行中完成代码生成、项目分析、文件修改、命令执行、Git 管理等开发全流程工作。它最大的特点是**任务驱动、终端原生、轻量高效、多模型兼容**,无需图形界面、不依赖 IDE 插件,能够深度融入开发者日常工作流。
3019 7
|
11天前
|
Shell API 开发工具
Claude Code 快速上手指南(新手友好版)
AI编程工具卷疯啦!Claude Code凭借任务驱动+终端原生的特性,成了开发者的效率搭子。本文从安装、登录、切换国产模型到常用命令,手把手带新手快速上手,全程避坑,30分钟独立用起来。
3115 20
|
23天前
|
人工智能 JSON 供应链
畅用7个月无影 JVS Claw |手把手教你把JVS改造成「科研与产业地理情报可视化大师」
LucianaiB分享零成本畅用JVS Claw教程(学生认证享7个月使用权),并开源GeoMind项目——将JVS改造为科研与产业地理情报可视化AI助手,支持飞书文档解析、地理编码与腾讯地图可视化,助力产业关系图谱构建。
23573 15
畅用7个月无影 JVS Claw |手把手教你把JVS改造成「科研与产业地理情报可视化大师」
|
4天前
|
人工智能 Linux BI
国内用 Claude Code 终于不用翻墙了:一行命令搞定,自动接 DeepSeek
JeecgBoot AI专题研究 一键脚本:Claude Code + JeecgBoot Skills + DeepSeek 全平台接入 一行命令装好 Claude Code + JeecgBoot Skills + DeepSeek 接入,无需翻墙使用 Claude Code,支持 Wind
2000 3
国内用 Claude Code 终于不用翻墙了:一行命令搞定,自动接 DeepSeek
|
10天前
|
人工智能 JSON BI
DeepSeek V4-Pro 接入 Claude Code 完全实战:体验、测试与关键避坑指南
Claude Code 作为当前主流的 AI 编程辅助工具,凭借强大的代码理解、工程执行与自动化能力深受开发者喜爱,但原生模型的使用成本相对较高。为了在保持能力的同时进一步降低开销,不少开发者开始寻找兼容度高、价格更友好的替代模型。DeepSeek V4 系列的发布带来了新的选择,该系列包含 V4-Pro 与 V4-Flash 两款模型,并提供了与 Anthropic 完全兼容的 API 接口,理论上只需简单修改配置,即可让 Claude Code 无缝切换为 DeepSeek 引擎。
2518 3
|
9天前
|
人工智能 安全 开发工具
Claude Code 官方工作原理与使用指南
Claude Code 不是传统代码补全工具,而是 Anthropic 推出的终端 AI 代理,具备代理循环、双驱动架构(模型+工具)、全局项目感知、6 种权限模式等核心能力,本文基于官方文档系统解析其工作原理与高效使用技巧。
1382 0
|
9天前
|
存储 Linux iOS开发
【2026最新】MarkText中文版Markdown编辑器使用图解(附安装包)
MarkText是一款免费开源、跨平台的Markdown编辑器,主打所见即所得实时预览,支持Windows/macOS/Linux。内置数学公式、流程图、代码高亮、多主题及PDF/HTML导出,是Typora的轻量免费替代首选。(239字)