开发者社区 问答 正文

如果调接口失败 钉钉开发后台有没有记录?

如果调接口失败 钉钉开发后台有没有记录?

展开
收起
嘟嘟嘟嘟嘟嘟 2024-02-08 11:11:50 103 分享 版权
2 条回答
写回答
取消 提交回答
  • 面对过去,不要迷离;面对未来,不必彷徨;活在今天,你只要把自己完全展示给别人看。

    钉钉开发后台有记录接口调用的错误信息。

    当开发者在调用钉钉开放接口时遇到问题,钉钉会返回相应的错误码和错误信息。这些信息可以帮助开发者诊断问题所在。例如,如果收到的错误码表示请求响应超时,开发者可以实施超时重试机制来解决问题。此外,钉钉开放平台还可能对API的使用有一定的限制,如请求频率限制或参数限制,这些限制也可能导致接口调用失败。

    总的来说,开发者可以通过检查钉钉开放平台提供的文档和错误信息,以及可能需要的重试策略,来确保接口调用的成功。同时,保持对网络环境、授权令牌有效性和请求参数正确性的监控,也是确保接口调用顺利进行的重要措施。

    2024-02-17 17:30:14
    赞同 展开评论
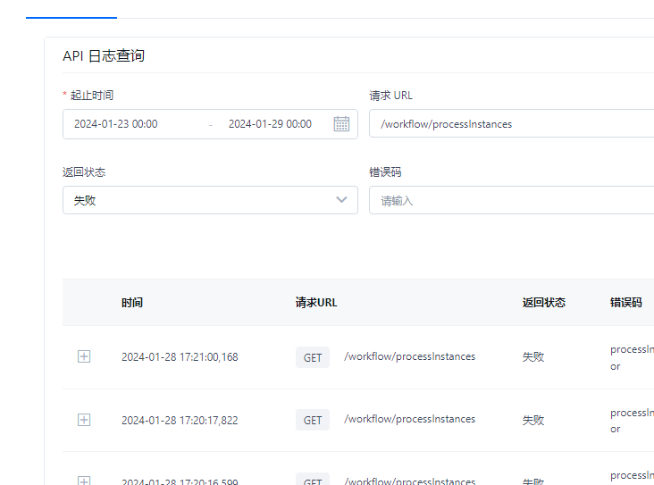
  • 有的,但对方记录的失败,和你理解的失败,不一定完全能对上。
    bec74a6194eddb0b60150d8d3f9991fb.png
    5490ddd72e1d571478a3ce5df2200779.png
    此回答整理自钉群“钉钉开发者社区(互助群)”

    2024-02-08 11:25:19
    赞同 展开评论