开发者社区 问答 正文

钉钉接口调用创建群就报错,什么原因?

钉钉接口调用创建群就显示 “your organization has created too many chat” 知道什么原因?

展开
收起
嘟嘟嘟嘟嘟嘟 2023-11-14 23:44:46 407 分享 版权
4 条回答
写回答
取消 提交回答
  • 面对过去,不要迷离;面对未来,不必彷徨;活在今天,你只要把自己完全展示给别人看。

    当调用钉钉接口创建群组时,出现 "your organization has created too many chat" 错误提示时,原因可能是您的组织已经超过了创建群组的限制。

    钉钉对于每个企业/组织在一定时间内可创建的群组数量有一定限制。具体的限制数额会根据您的企业套件或版本不同而有所不同。这个限制是为了防止滥用和维护系统稳定性。

    要解决此问题,您可以考虑以下几点:

    1. 检查当前群组数量:首先,检查您当前创建的群组数量是否已达到限制。可以通过访问钉钉管理后台或使用相应的接口查询您的组织已创建的群组数量。

    2. 清理无用的群组:如果您发现有过多无用的群组存在,可以考虑清理或归档这些群组。删除不再需要的群组可以释放创建新群组的配额。

    3. 联系钉钉支持:如果您确定您的群组数量没有超过限制,但仍然遇到该错误提示,请联系钉钉的客户支持团队寻求进一步的帮助和解决方案。

    2023-11-30 22:45:37
    赞同 展开评论
  • 这个错误提示 "your organization has created too many chat" 表示你的组织已经创建了太多的聊天群组。这可能是由于你的组织在短时间内创建了过多的聊天群组,或者是你的组织已经达到了每天可以创建的聊天群组的数量上限。

    如果你遇到了这个问题,建议你:

    1. 检查你的组织是否已经创建了过多的聊天群组。如果是,你可以删除一些不再使用的聊天群组,以便释放资源。

    2. 如果你需要创建更多的聊天群组,你可以尝试联系钉钉的客户支持团队,看看是否可以提高你的组织的聊天群组创建限额。

    3. 在创建新的聊天群组时,尽量确保每个聊天群组的成员数量足够多,以避免浪费聊天群组的创建名额。

    4. 如果你只是需要临时使用聊天群组,你可以考虑使用钉钉的临时会话功能,而不是创建新的聊天群组。

    2023-11-15 15:09:10
    赞同 展开评论
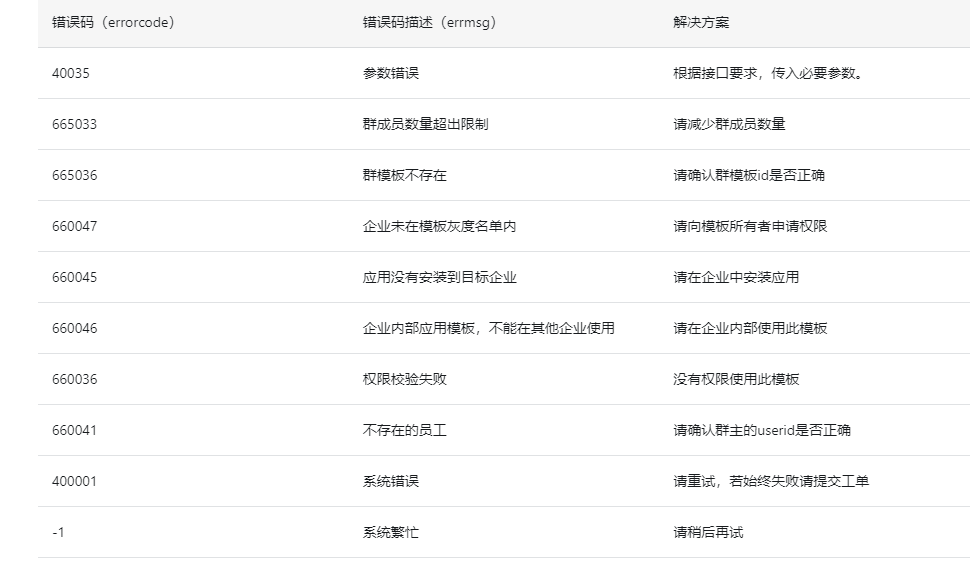
  • 调用本接口根据群模板ID创建群https://open.dingtalk.com/document/isvapp/create-group

    错误码

    image.png

    2023-11-15 11:20:45
    赞同 展开评论
  • 北京阿里云ACE会长

    ,如果创建群组时出现 “your organization has created too many chat” 错误信息,可能是因为组织创建的群组数量超过了钉钉的限制。
    根据钉钉的规定,每个组织每天最多可以创建100个群组。如果组织创建的群组数量超过了这个限制,就会收到这个错误信息。
    要解决这个错误,可以尝试以下方法:

    1. 等待24小时后,再尝试创建群组。
    2023-11-15 08:02:39
    赞同 展开评论