钉钉OA审批开放平台提供了哪些接口能力?
版权声明:本文内容由阿里云实名注册用户自发贡献,版权归原作者所有,阿里云开发者社区不拥有其著作权,亦不承担相应法律责任。具体规则请查看《阿里云开发者社区用户服务协议》和《阿里云开发者社区知识产权保护指引》。如果您发现本社区中有涉嫌抄袭的内容,填写侵权投诉表单进行举报,一经查实,本社区将立刻删除涉嫌侵权内容。
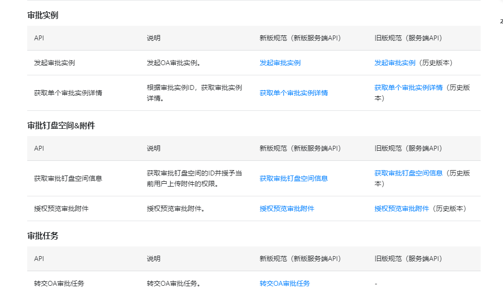
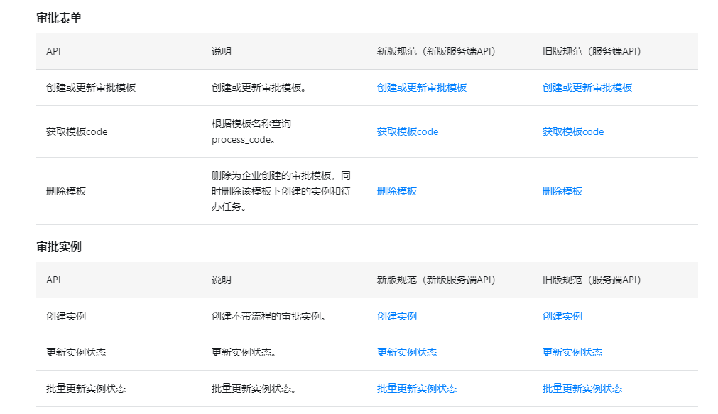
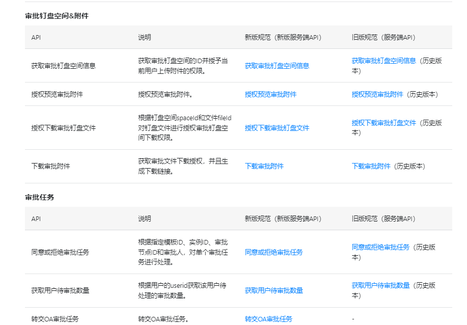
OA审批开放的接口列表
OA审批提供了丰富的接口开放能力,开发者通过API接口可以实现OA审批和企业业务系统打通。
官方OA审批
审批表单

审批实例

自有OA审批


钉钉OA审批开放平台提供了一系列接口能力,可用于与钉钉的审批功能进行集成。以下是一些常用的接口能力:

审批模板管理:您可以使用接口创建、查询、更新和删除审批模板。这些接口允许您定义审批流程的各个节点、审批人、字段等信息。
发起审批实例:通过接口,您可以发起一个新的审批实例。您需要提供审批模板ID以及相关的审批数据,例如填写的字段值、附件等。
查询审批实例详情:使用接口可以获取特定审批实例的详细信息,包括审批进度、当前节点、审批意见、附件等。
提交审批实例操作:您可以使用接口提交审批实例的操作,例如同意、拒绝、转交等。这些操作将更改审批实例的状态和流转。
查询待我审批的实例:通过接口,您可以查询待您审批的审批实例列表。这样您可以在自己的系统中展示待办事项或进行相关的业务逻辑处理。
除了上述接口能力外,钉钉OA审批开放平台还提供了其他接口,如获取审批模板列表、查询抄送我的审批实例、查询已完成的审批实例等,以满足不同场景下的需求。
钉钉OA审批开放平台提供了多个接口能力,用于实现与企业业务系统的打通和集成。以下是一些常用的钉钉OA审批开放接口能力:

创建审批实例:创建一个新的审批实例,可指定审批流程、审批人等信息。
获取审批详情:根据审批实例ID,获取特定审批实例的详细信息,包括表单数据、审批进度、审批节点等。
提交审批实例:将已填写的审批实例提交给审批人进行审批。
撤销审批实例:撤销已提交但尚未被审批的审批实例。
更新审批实例:更新已提交的审批实例,如修改表单数据、添加备注等。
查询审批实例列表:根据条件查询符合要求的审批实例列表,支持分页和筛选条件。
查询待我审批的实例列表:查询当前登录用户待处理的审批实例列表。
查询抄送我的实例列表:查询当前登录用户作为抄送人的审批实例列表。
查询已完成的实例列表:查询当前登录用户已完成的审批实例列表。
查询发起的实例列表:查询当前登录用户发起的审批实例列表。
OA审批开放平台提供了创建或更新审批模板、获取表单schema、获取审批单流程中的节点信息、获取指定用户可见的审批表单列表、获取当前企业所有可管理的表单、发起审批实例、获取单个审批实例详情、撤销审批实例、添加审批评论、获取审批实例ID列表、获取审批钉盘空间信息等接口能力。
此回答整理自钉群“钉钉开发者社区(互助群)”