阿里云智能接入网关体验

本文涉及的产品
云原生多模数据库 Lindorm,多引擎 多规格 0-4节点
简介: 以前在实施MSN Direct项目的时候曾经接触过思科的路由器,当时从微软总部派过来一个专家,借助一个公网IP在航天桥电视塔和微软研发集团的机房建立一个VPN通道,实现“虚拟”局域网的功能。



以前在实施MSN Direct项目的时候曾经接触过思科的路由器,当时从微软总部派过来一个专家,借助一个公网IP在航天桥电视塔和微软研发集团的机房建立一个VPN通道,实现“虚拟”局域网的功能。

没有想到这次采用阿里云提供的智能接入网关,竟然相对轻松地实现了“虚拟”局域网的功能。不仅可以和云服务器ECS上的主机打通了局域网通道,并且和接入在该网关上的边缘网关和其他智能设备也都构建成一个大的“局域网”。这样远程调试一些智能网络设备将变得异常方便和容易了。

总结一下优点:具有路由与交换机的功能,网络搭建时较为简单方便,数据安全,网络具有一定防攻击性,不易出现断网情况,网络稳定,数据稳定,带宽可调节,云端配置相对简单。适合大量设备入云使用,且自动适应各种拓扑结构,还可以支持双机冗余功能。此外还可以通过官方提供的API进行编程访问,及深度集成在自己的云端软件平台里。

要说不足,就是对阿里云平台依赖较大,设备启动时云端连接有较长延时预计在15秒左右,SIM卡连接时间更长30秒以上。


连接配置

1.连接

准备材料:两个网线,一个以连接外网的路由器(可以省去),一个智能接入网关,一台pc机。

连接配置步骤:

(1)将一根网线的一端连接路由器,另一端连接智能接入网关的WAN1或WAN2端口;

(2)另一根网线一段连LAN1或LAN2、LAN3任意一个端口,另一端连接pc机;

(3)网关接入电源。

2.配置

第一次连接智能接入网关后(未在阿里云端激活网关的情况下)可通过192.168.0.1进入智能接入网关自带的配置页面,根据配置引导完成配置即可。



设置网关登陆密码;

配置WAN:SNAT选择开启,连接方式这里又三种,动态IP、静态IP、PPPoE。选择动态IP不需要其他的配置,会自动获取一个网段中的IP信息,基于DHCP。静态IP需要手动填写IP地址、掩码、网关、DNS,这里DNS有主用和备用,备用就是在主用出问题时启用的DNS。PPPoE这个是用于拨号连接的,在没有通过路由器交换机等设备直接接入网络时使用。

LAN配置:可以开启和关闭网关的无线功能,无线功能默认是开启的,配置时SSID为无线名称,也就是在搜索无线信号是的无线名,SSID广播要选开启,不然搜索不到,信道自动,频段带宽自动,无线安全开启(可以关闭),认证类型有两种,WPA-PSK与WPA2-PSK,WPA2-PSK更加安全,加密算法我选择自动,记得设置无线连接密码

有线功能有动态ip和静态ip两种,动态ip或为接入网关的设备自动分配一个IP地址,如果使用静态IP则需要手动配置IP地址,并在设备端进行静态IP的配置

ACL的配置可以稍后进行。

现在连接拓扑图如下:


此时我们可以通过智能接入网关连接外网,但网关还没来接入云端,CLOUD指示灯也是熄灭状态。

用购买智能网关的账户登陆阿里智能接入网关的控制台

https://smartag.console.aliyun.com/sag/cn-shanghai/sags

在控制台中可以看到已购买的智能接入网关,点击对应网关的网络配置,为其配置私网网段绑定云连接网和企业网,然后点击激活。

此时网关设备的CLOUD灯常亮,证明网关已经接入云端

再次进入网关自身的配置页面,进入地址发生改变,变为在控制台种配私网网段后网段中的一个地址,动态IP时为网段种第一个IP地址,我配置的网段为172.16..0.0/12并且是动态IP,所以网关配置页面新地址为172.16.0.1。

进入网关配置页面,输入密码,点击LAN配置,完成LAN配置如图:


点击添加规则:源地址为配置网段时的地址,目的地址为阿里云服务器的私网IP掩码32位,端口我设置的是0到65535,授权策略位允许,然后保存配置。

企业网要死没有的话需要自己创建一下:

https://cen.console.aliyun.com/cen/list?accounttraceid=7fe771ea-c4b0-4365-850f-d8326298a655&spm=5176.11278938.0.0.23595675OCfna8

进入入VPN页面创建专有网络:

https://vpcnext.console.aliyun.com/vpc/cn-shanghai/vpcs?spm=5176.11278938.0.0.23595675OCfna8

创建时注意网控制台页面左上角的位置要与阿里云服务器的位置一致,如服务位置为北京,这里也要选择北京


点击创建专有网络,按提示输入专有网络名称,网段,描述可空,填写交换机信息,注意:网段为服务器的私网网段:我这里是172.16.0.0/12;

填写交换机名称选择可用区,修改网段,172.16.1.0/24点击确定

参考页面:https://help.aliyun.com/document_detail/65430.html?spm=a2c4g.11186623.6.550.19e5609d2adhLU

点击刚刚创建后的专有网络的管理按钮,进入管理界面,在网页的右上角,将网络加入云企业网,然后在pc端ping云服务器ESC的私网,ping通,说明配置成功

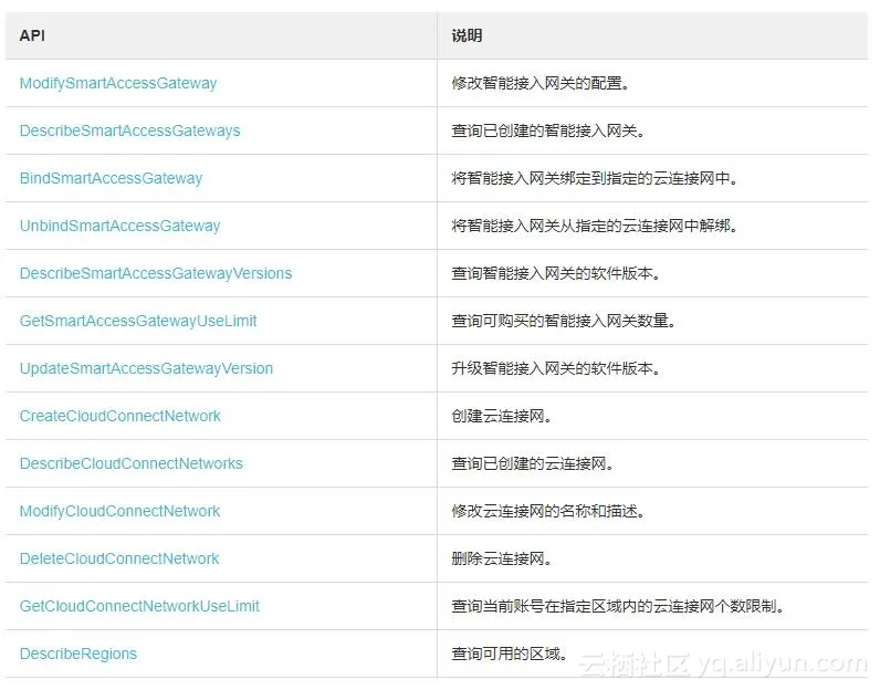
网关API

网关提供了13个可通过调用不同的API完成对智能接入网关的配置修改,查看以创建智能网关,将网关绑定带云连接网种,如下表所述功能


首先进行API签名获取签名,参考网址:

https://help.aliyun.com/document_detail/69695.html?spm=a2c4g.11186623.6.595.388d6061BD6ceK

https://help.aliyun.com/document_detail/66384.html?spm=a2c4g.11186623.6.546.91c556e4dI7aOA

签名需要AccessKey ID的值和AccessKey Secret的值,在阿里云控制台中,点击用户头像,然后点击accseeKeys可以查看到,没有AccessKey的需要创建一下。

在得到签名结果后,就可以开始调用网关API了

网关的API是RPC风格,可通过HTTP的GET请求方式调用如我们要调用网关的DescribeSmartAccessGateways,那么HTTP请求格式如下:

https://smartag.cn-shanghai.aliyuncs.com/?


Action=DescribeSmartAccessGateways

&Timestamp=2018-12-19T12:46:24Z

&Format=XML

&AccessKeyId=xxxxx

&SignatureMethod=HMAC-SHA1

&SignatureNonce=3ee8c1b8-83d3-44af-a94f-4e0ad82fd6cf

&Version=2018-03-13

&SignatureVersion=1.0

&Signature=CXC5BpLH5ky5kiapAcOz5wgyFcNnQ9

 

Action后是API名称;

Timestamp请求的时间戳

Format是返回格式,不填的话默认为Json

AccessKeyId是和的AccessKey ID的值

SignatureMethod是签名的方式

Version是API的版本号

SignatureVersion签名的版本号

Signature是签名后的到的结果

具体信息可在公共参数种查看:

https://help.aliyun.com/document_detail/69697.html?spm=a2c4g.11186623.6.597.788f4e10YHOdS4

登录云平台可以看到如下信息:



阿里云物联网平台链接:https://dev.iot.aliyun.com/sale?source=deveco_partner_yefan


相关文章
|
2月前
|
API 微服务
阿里云微服务引擎 MSE 及 API 网关 2025 年 9 月产品动态
阿里云微服务引擎 MSE 及 API 网关 2025 年 9 月产品动态。
174 24
|
3月前
|
运维 Cloud Native 应用服务中间件
阿里云微服务引擎 MSE 及 API 网关 2025 年 9 月产品动态
阿里云微服务引擎 MSE 面向业界主流开源微服务项目, 提供注册配置中心和分布式协调(原生支持 Nacos/ZooKeeper/Eureka )、云原生网关(原生支持Higress/Nginx/Envoy,遵循Ingress标准)、微服务治理(原生支持 Spring Cloud/Dubbo/Sentinel,遵循 OpenSergo 服务治理规范)能力。API 网关 (API Gateway),提供 APl 托管服务,覆盖设计、开发、测试、发布、售卖、运维监测、安全管控、下线等 API 生命周期阶段。帮助您快速构建以 API 为核心的系统架构.满足新技术引入、系统集成、业务中台等诸多场景需要。
461 142
API 微服务
95 0
|
4月前
|
运维 Cloud Native 应用服务中间件
阿里云微服务引擎 MSE 及 API 网关 2025 年 8 月产品动态
阿里云微服务引擎 MSE 面向业界主流开源微服务项目, 提供注册配置中心和分布式协调(原生支持 Nacos/ZooKeeper/Eureka )、云原生网关(原生支持Higress/Nginx/Envoy,遵循Ingress标准)、微服务治理(原生支持 Spring Cloud/Dubbo/Sentinel,遵循 OpenSergo 服务治理规范)能力。API 网关 (API Gateway),提供 APl 托管服务,覆盖设计、开发、测试、发布、售卖、运维监测、安全管控、下线等 API 生命周期阶段。帮助您快速构建以 API 为核心的系统架构.满足新技术引入、系统集成、业务中台等诸多场景需要。
463 152
|
4月前
|
运维 NoSQL Serverless
《第四纪元》玩得轻松,构建也轻松 | 阿里云云原生 API 网关、函数计算助力 IGame 快速构建轻休闲游戏
在轻休闲游戏流量波动大、生命周期短的背景下,传统架构难以应对成本与扩展挑战。本文介绍了基于阿里云函数计算 FC 和 Redis 构建的新一代服务器架构,实现弹性伸缩、成本优化与高效运维,助力轻休闲游戏快速迭代与稳定运营,提升开发效率并降低运维复杂度。
《第四纪元》玩得轻松,构建也轻松 | 阿里云云原生 API 网关、函数计算助力 IGame 快速构建轻休闲游戏
|
4月前
|
运维 NoSQL Serverless
|
5月前
|
API
阿里云微服务引擎 MSE 及 API 网关 2025 年 7 月产品动态
阿里云微服务引擎 MSE 及 API 网关 2025 年 7 月产品动态
|
5月前
|
运维 Cloud Native 应用服务中间件
阿里云微服务引擎 MSE 及 API 网关 2025 年 7 月产品动态
阿里云微服务引擎 MSE 面向业界主流开源微服务项目, 提供注册配置中心和分布式协调(原生支持 Nacos/ZooKeeper/Eureka )、云原生网关(原生支持Higress/Nginx/Envoy,遵循Ingress标准)、微服务治理(原生支持 Spring Cloud/Dubbo/Sentinel,遵循 OpenSergo 服务治理规范)能力。API 网关 (API Gateway),提供 APl 托管服务,覆盖设计、开发、测试、发布、售卖、运维监测、安全管控、下线等 API 生命周期阶段。帮助您快速构建以 API 为核心的系统架构.满足新技术引入、系统集成、业务中台等诸多场景需要。
|
5月前
|
运维 Cloud Native 应用服务中间件
阿里云微服务引擎 MSE 及 API 网关 2025 年 6 月产品动态
阿里云微服务引擎 MSE 面向业界主流开源微服务项目, 提供注册配置中心和分布式协调(原生支持 Nacos/ZooKeeper/Eureka )、云原生网关(原生支持Higress/Nginx/Envoy,遵循Ingress标准)、微服务治理(原生支持 Spring Cloud/Dubbo/Sentinel,遵循 OpenSergo 服务治理规范)能力。API 网关 (API Gateway),提供 APl 托管服务,覆盖设计、开发、测试、发布、售卖、运维监测、安全管控、下线等 API 生命周期阶段。帮助您快速构建以 API 为核心的系统架构.满足新技术引入、系统集成、业务中台等诸多场景需要。
|
6月前
|
运维 Cloud Native 应用服务中间件
阿里云微服务引擎 MSE 及 API 网关 2025 年 5 月产品动态
阿里云微服务引擎 MSE 面向业界主流开源微服务项目, 提供注册配置中心和分布式协调(原生支持 Nacos/ZooKeeper/Eureka )、云原生网关(原生支持Higress/Nginx/Envoy,遵循Ingress标准)、微服务治理(原生支持 Spring Cloud/Dubbo/Sentinel,遵循 OpenSergo 服务治理规范)能力。API 网关 (API Gateway),提供 APl 托管服务,覆盖设计、开发、测试、发布、售卖、运维监测、安全管控、下线等 API 生命周期阶段。帮助您快速构建以 API 为核心的系统架构.满足新技术引入、系统集成、业务中台等诸多场景需要

热门文章

最新文章