Session简介
浏览器有个cookie,在一段时间内这个cookie都存在,然后每次发请求过来都带上一个特殊的jsessionid cookie,就根据这个东西,在服务端可以维护一个对应的session域,里面可以放点儿数据。
一般只要你没关掉浏览器,cookie还在,那么对应的那个session就在,但是cookie没了,session就没了。常见于什么购物车之类的东西,还有登录状态保存之类的。
你单块系统的时候这么玩儿session没问题啊,但是你要是分布式系统了呢,那么多的服务,session状态在哪儿维护啊?
其实方法很多,但是常见常用的是两种:
实现方案
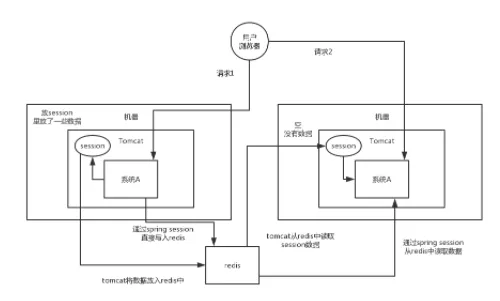
Tomcat + Redis
这个其实还挺方便的,就是使用session的代码跟以前一样,还是基于Tomcat原生的session支持即可,然后就是用一个叫做Tomcat RedisSessionManager的东西,让所有我们部署的Tomcat都将session数据存储到redis即可。
在Tomcat的配置文件中,配置一下
<Valve className="com.orangefunction.tomcat.redissessions.RedisSessionHandlerValve" /> <Manager className="com.orangefunction.tomcat.redissessions.RedisSessionManager" host="{redis.host}" port="{redis.port}" database="{redis.dbnum}" maxInactiveInterval="60"/>
搞一个类似上面的配置即可,你看是不是就是用了RedisSessionManager,然后指定了redis的host和 port就ok了。
<Valve className="com.orangefunction.tomcat.redissessions.RedisSessionHandlerValve" /> <Manager className="com.orangefunction.tomcat.redissessions.RedisSessionManager" sentinelMaster="mymaster" sentinels="<sentinel1-ip>:26379,<sentinel2-ip>:26379,<sentinel3-ip>:26379" maxInactiveInterval="60"/>
还可以用上面这种方式基于redis哨兵支持的redis高可用集群来保存session数据,都是ok的
Spring Session + Redis
分布式会话的这个东西重耦合在tomcat中,如果我要将web容器迁移成jetty,难道你重新把jetty都配置一遍吗?
因为上面那种tomcat + redis的方式好用,但是会严重依赖web容器,不好将代码移植到其他web容器上去,尤其是你要是换了技术栈咋整?比如换成了spring cloud或者是spring boot.
所以现在比较好的还是基于java一站式解决方案,spring!
人家spring基本上包掉了大部分的我们需要使用的框架了,spirng cloud做微服务了,spring boot做脚手架了,所以用sping session是一个很好的选择
pom.xml
<dependency> <groupId>org.springframework.session</groupId> <artifactId>spring-session-data-redis</artifactId> <version>1.2.1.RELEASE</version> </dependency> <dependency> <groupId>redis.clients</groupId> <artifactId>jedis</artifactId> <version>2.8.1</version> </dependency>
- spring配置文件中
<bean id="redisHttpSessionConfiguration" class="org.springframework.session.data.redis.config.annotation.web.http.RedisHttpSessionConfiguration"> <property name="maxInactiveIntervalInSeconds" value="600"/> </bean> <bean id="jedisPoolConfig" class="redis.clients.jedis.JedisPoolConfig"> <property name="maxTotal" value="100" /> <property name="maxIdle" value="10" /> </bean> <bean id="jedisConnectionFactory" class="org.springframework.data.redis.connection.jedis.JedisConnectionFactory" destroy-method="destroy"> <property name="hostName" value="${redis_hostname}"/> <property name="port" value="${redis_port}"/> <property name="password" value="${redis_pwd}" /> <property name="timeout" value="3000"/> <property name="usePool" value="true"/> <property name="poolConfig" ref="jedisPoolConfig"/> </bean>
- web.xml
<filter> <filter-name>springSessionRepositoryFilter</filter-name> <filter-class>org.springframework.web.filter.DelegatingFilterProxy</filter-class> </filter> <filter-mapping> <filter-name>springSessionRepositoryFilter</filter-name> <url-pattern>/*</url-pattern> </filter-mapping>
- 示例代码
@Controller @RequestMapping("/test") public class TestController { @RequestMapping("/putIntoSession") @ResponseBody public String putIntoSession(HttpServletRequest request, String username){ request.getSession().setAttribute("name", “leo”); return "ok"; } @RequestMapping("/getFromSession") @ResponseBody public String getFromSession(HttpServletRequest request, Model model){ String name = request.getSession().getAttribute("name"); return name; } }
上面的代码就是ok的,给sping session配置基于redis来存储session数据,然后配置了一个spring session的过滤器,这样的话,session相关操作都会交给spring session来管了.
接着在代码中,就用原生的session操作,就是直接基于spring sesion从redis中获取数据了。
小结
分布式会话是什么
实现分布式的会话,有很多种很多种方式,这里说的不过是比较常见的两种方式
tomcat + redis早期比较常用,但是会重耦合到 tomcat 中
近些年,通过spring session来实现。
