麻烦帮我看下云效中刷一下缓存,这个流水线又卡住了,流水线?

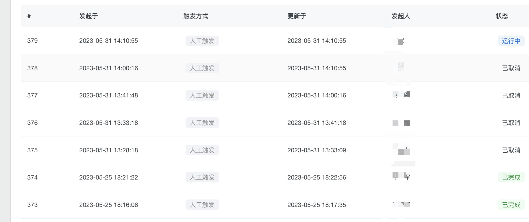
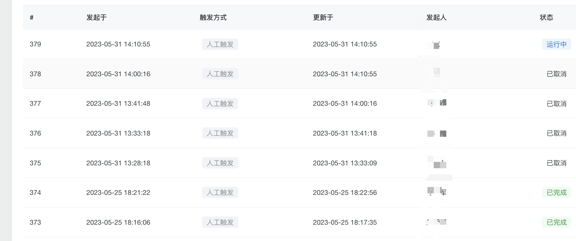
问题1:麻烦帮我看下云效中刷一下缓存,这个流水线又卡住了,流水线id:220924?image.png 还是卡在环境初始化,目前遇到2个流水线出现这个问题https://rdc.aliyun.com/ec/pipelines/220924image.png image.png 就今天运行卡住的,这个流水线 问题2:是这条流水线第几次运行卡住的?最新的一次吗?379次哈?您着急的话看复制一条流水线可以吗?复制一条来实现运行一下,我们这边暂时无法复现这个问题,技术人员已经在排查问题了

展开
收起
真的很搞笑 2023-06-07 17:58:37 190 分享 版权
3 条回答
写回答
取消 提交回答
  • 北京阿里云ACE会长

    根据您提供的信息,流水线的构建似乎卡住了,您可以尝试刷新云效的缓存来解决问题。具体的刷新方法如下:

    进入云效的控制台页面,在页面右上角的个人头像处点击,选择“高级设置”。

    在高级设置页面中,找到“缓存管理”选项,并点击进入。

    在缓存管理页面中,选择需要刷新的缓存类型,例如“构建缓存”、“Maven 依赖缓存”等。

    点击“刷新缓存”按钮,等待刷新完成。

    重新运行或者触发流水线构建任务,查看是否能够正常运行。

    2023-06-08 21:11:42
    赞同 展开评论
  • 公众号:网络技术联盟站,InfoQ签约作者,阿里云社区签约作者,华为云 云享专家,BOSS直聘 创作王者,腾讯课堂创作领航员,博客+论坛:https://www.wljslmz.cn,工程师导航:https://www.wljslmz.com

    检查流水线中是否有错误或警告信息,如果有,可以根据提示来进行排查和修复。

    2023-06-07 19:00:27
    赞同 展开评论
  • 回答1:您什么时候还出现过?一般多久恢复?您取消这次运行 重新尝试运行一下 看会不会复现呢 回答2:375开始卡死的,可以先清除一下缓存吗,这边要发布了,此回答整理自钉群“云效答疑服务群”

    2023-06-07 18:10:08
    赞同 展开评论

云效,企业级一站式研发协同平台,数十万企业都在用。支持公共云、专有云和混合云多种部署形态,通过云原生新技术和研发新模式,助力创新创业和数字化转型企业快速实现研发敏捷和组织敏捷,打造“双敏”组织,实现多倍效能提升。

收录在圈子:
+ 订阅
还有其他疑问?
咨询AI助理