Java 中do...while()的使用

简介: Java 中do...while()的使用

do…while语句

基本格式:

do {

循环体语句

}while(条件判断语句);

完整格式:

初始化语句;

do{

循环体语句

条件控制语句

}while(条件判断语句);

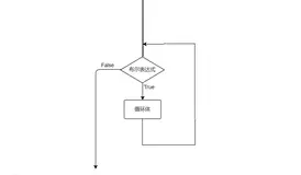
执行流程:

  1. 执行初始化语句
  2. 执行循环语句
  3. 执行条件控制语句
  4. 执行条件判断语句,看其结果是true还是false
    如果为true,继续执行
    如果为false,循环结束
  5. 回到2继续执行
public class doWhileTest {
    public static void main(String[] args) {
        //需求:在控制台输出5次hello,world
        for (int i = 1; i <= 5; i++) {
            System.out.println("hello,world");
        }
        System.out.println("---------");
        int j = 1;
        do {
            System.out.println("hello,world");
            j++;
        } while (j <= 5);
    }
}

输出结果:

hello,world
hello,world
hello,world
hello,world
hello,world
---------
hello,world
hello,world
hello,world
hello,world
hello,world


目录
相关文章
|
Java
java基础(2)循环语句for、while、do...while
本文介绍了Java中的基础循环语句,包括for循环、while循环和do...while循环。文章通过示例代码展示了for循环的基本结构和用法,while循环的先判断后执行逻辑,以及do...while循环的先执行后判断逻辑。这些循环语句在Java编程中非常常用,用于执行重复的任务。
162 4
java基础(2)循环语句for、while、do...while
Java中的循环语句:while、do...while和for的作用与区别
Java中的循环语句:while、do...while和for的作用与区别
307 0
Java 循环结构 - for, while 及 do...while
Java 循环结构 - for, while 及 do...while
Java 循环结构 - for, while 及 do...while
Java 循环结构 - for, while 及 do...while
|
Java 编译器
JAVA_for+do...while循环结构
JAVA_for+do...while循环结构
184 1
|
Java
Java 循环结构 - for, while 及 do...while
Java 循环结构 - for, while 及 do...while
128 0
|
Java
java学习第四天笔记-流程控制语句-分支结构83-do...while
java学习第四天笔记-流程控制语句-分支结构83-do...while
83 0
java学习第四天笔记-流程控制语句-分支结构83-do...while
|
Java
Java中的while、do...while循环结构及跳转控制语句和循环嵌套
while、do...while循环结构及跳转控制语句和循环嵌套的简单示例
168 0
Java中的while、do...while循环结构及跳转控制语句和循环嵌套
|
Java
Java流程控制04——循环结构(while、do...while)
Java流程控制04——循环结构(while、do...while)
170 0
Java流程控制04——循环结构(while、do...while)
|
4天前
|
JSON 网络协议 安全
【Java】(10)进程与线程的关系、Tread类;讲解基本线程安全、网络编程内容;JSON序列化与反序列化
几乎所有的操作系统都支持进程的概念,进程是处于运行过程中的程序,并且具有一定的独立功能,进程是系统进行资源分配和调度的一个独立单位一般而言,进程包含如下三个特征。独立性动态性并发性。
37 1

热门文章

最新文章