亲身实测有效,我在腾讯云买的服务器和域名而且还搭建了自己的人网站!学生党可以一试!
开销:9+10+10+10=39元
1.注册域名
(加入购物车之后最后可以是微信支付,就不多写了)
域名:www.wildcaq.club 9元
2.购买服务器
(最好是买3个月的,因为国内的域名需要备案,买的服务器时间必须是三个月以上才能备案,只有备案了才能让所有人通过域名来访问你的个人网站!)
服务器:腾讯云的学生优惠套餐10月一个月的服务器
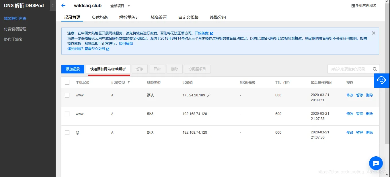
3.绑定域名和服务器
1.找到域名管理点击解析,输入购买的云服务器外网IP即可
4.个人网站搭建完成
等待网站备案的审核完毕之后就可以让任何人通过IP来访问你的个人网站啦!我这个云服务器用镜像安装了一个wordpress站点,这里在贴一个腾讯云的教程
https://cloud.tencent.com/document/product/213/9740
快去跟小伙伴去炫耀吧!






