大纲
- 认证与鉴权
- 准入控制
- Service Account
- Secret
认证与鉴权
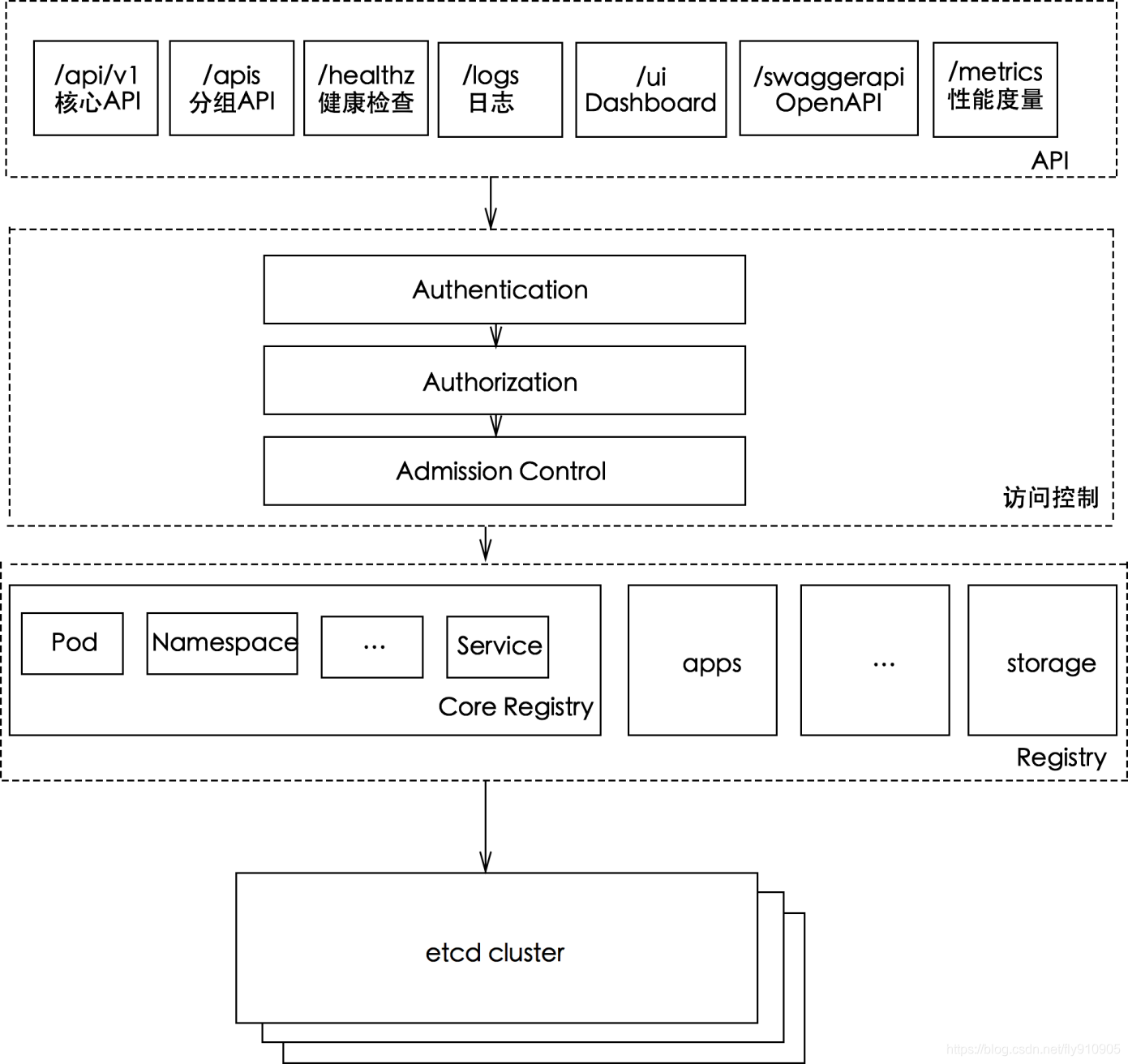
API Server架构
Kubernetes的安全框架
访问K8S集群的资源需要过三关:认证、鉴权、准入控制。
- 普通用户若要安全访问集群API Server,往往需要证书、 token、用户名-密码; Pod访问,需要ServiceAccount
- K8S安全控制框架主要由下面3个阶段进行控制,每一个阶段都支持插件方式,通过API Server配置来启用插件
- ① Authentication
- ② Authorization
- ③ Admission Control
认证:三种客户端身份认证
| 认证方式 | 安全 级别 |
API Server配置 | Client配置 | 访问示例 |
| 证书+私钥 | 高 | --client-ca-file: CA根证书 --tls-cert-file: API Server证书文件 --tls-private-key-file: API Server私钥文件 |
--certificate-authority: CA根证书 --client-certificate:客户端证书文件 --client-key:客户端私钥文件 |
kubectl --server=https:/192.168.61.100:6443 -- certificate-authority=ca.pem --client certificate=client.crt --client-key=client.key get nodes |
| Token | 中 | --token-auth-file:静态Token文件, csv格 式: token,user,uid,“group1,group2,group3” |
Kubectl --token 或者: Authorization: Bearer ${token} |
kubectl –server=https:/192.168.61.100:6443 -- token=792c62a1b5f2b07b --insecure-skip-tls verify=true cluster-info 或者: curl -k --header “Authorization: Bearer 792c62a1b5f2b07b” https:/192.168.61.100:6443/api |
| 用户名+密 码 |
低 | --basic_auth_file: basic认证文件,不建议 在生产环境使用 格式: password,user,uid,"group1,group2,group3“ |
Kubectl –username –password 或者: Authorization:Basic BASE64ENCODED(USER:PASSWORD) |
kubectl --server=https:/192.168.61.100:6443 -- username=admin --password=1234 --insecure-skip tls-verify=true cluster-info 或者: curl -k --header "Authorization:Basic YWRtaW46MTIzNA==" https:/192.168.61.100:6443/api |
授权
- 用户通过认证后,对指定的资源是否有权限访问,还需要经过授权环节。授权主要是用于对集群资源的访问控制,通过检查请求包含的相关属性值,与相对应的访问策略相比较, API请求必须满足某些策略才能被处理
- Kubernetes授权仅处理以下的请求属性:
- ① user, group, extra
- ② API、请求方法(如get、 post、 update、 patch和delete)和请求路径(如/api)
- ③ 请求资源和子资源
- ④ Namespace
- ⑤ API Group
- API Server支持多种授权策略,通过启动参数“--authorization_mode”设置,可以同时启用多种策略
| 授权策略 | 功能描述 |
| AlwaysAllow | 接受所有请求,如果集群不需要授权流程,采用该策略 |
| AlwaysDeny | 拒绝所有请求,一般用于测试 |
| ABAC | 基于属性的访问控制,使用用户配置的授权规则去匹配用户的请求 |
| RBAC | 基于角色的访问控制, RBAC 的授权策略可以利用 kubectl 或者 Kubernetes API 直接进行配置。 RBAC 可以授权给用 户,让用户有权进行授权管理,这样就可以无需接触节点,直接进行授权管理 |
| Webhook | WebHook 是一种 HTTP 回调, API Server把鉴权请求发给WebHook服务器,由服务器对请求进行鉴权 |
| Node | 对Node授权,配合NodeRestriction准入控制来限制kubelet仅可访问node、 endpoint、 pod、 service以及secret、 configmap、 PV和PVC等相关的资源 |
授权策略-ABAC
- ABAC( Attribute-based access control),基于属性的访问控制, 通过使用将属性组合在一起的策略向用户授予访问权限
- 给API Server指定策略文件, --authorization-policy-file=FILENAME,文件内容是一行一个Policy对象的JSON串
ABAC-示例
| 例子 | 功能描述 |
| Alice可以对所有资源做 任何操作 |
{"apiVersion": "abac.authorization.kubernetes.io/v1beta1", "kind": "Policy", "spec": {"user": "alice", "namespace": "*", "resource": "*", "apiGroup": "*"}} |
| Kubelet可以读取任何 Pod |
{"apiVersion": "abac.authorization.kubernetes.io/v1beta1", "kind": "Policy", "spec": {"user": "kubelet", "namespace": "*", "resource": "pods", "readonly": true}} |
| Kubelet可以读写事件 | {"apiVersion": "abac.authorization.kubernetes.io/v1beta1", "kind": "Policy", "spec": {"user": "kubelet", "namespace": "*", "resource": "events"}} |
| Bob可以在命名空间 projectCaribou中读取 Pod |
{"apiVersion": "abac.authorization.kubernetes.io/v1beta1", "kind": "Policy", "spec": {"user": "bob", "namespace": "projectCaribou", "resource": "pods", "readonly": true}} |
| 任何人都可以对所有非 资源路径进行只读请求 |
{"apiVersion": "abac.authorization.kubernetes.io/v1beta1", "kind": "Policy", "spec": {"group": "system:authenticated", "readonly": true, "nonResourcePath": "*"}} {"apiVersion": "abac.authorization.kubernetes.io/v1beta1", "kind": "Policy", "spec": {"group": "system:unauthenticated", "readonly": true, "nonResourcePath": "*"}} |
授权策略-RBAC
RBAC( Role-Based Access Control),允许通过Kubernetes API 动态配置策略。
RBAC被映射成四种K8S顶级资源对象:
- - 角色(Role): Role、 ClusterRole
- * 角色表示一组权限的规则,累积规则
- * Role适用带namespace的资源, ClusterRole适用集群资源或非资源API
- - 建立用户与角色的映射/绑定关系: RoleBinding、 ClusterRoleBinding
- * RoleBinding和ClusterRoleBinding的区别在于是否是namespace的资源
- * 角色绑定包含了一组相关主体(即subject, 包括用户、用户组、或者Service Account)以及对被授予角色的引用
角色
角色绑定
Admission Control准入控制
- Admission Control实际上是一个准入控制器(Admission Controller)插件列表(又叫“准入控制链” ),发送到API Server的请求都需要经过这个列表中的每个准入控制器插件的检查,检查不通过,则APIServer拒绝请求
- 会自动修改Pod的配置
- 官方支持20+个准入控制插件,而且支持自定义扩展
- 1.4以上版本官方推荐使用的插件
- --admission-control=NamespaceLifecycle,LimitRanger,ServiceAccount,DefaultStorageClass,ResourceQuota
Secret
Secret 对象类型用来保存敏感信息,例如密码、 OAuth 令牌和 ssh key。将这些信息放在 secret 中比放在Pod 的定义或者 docker 镜像中可以更好地控制它的用途,并降低意外暴露的风险。
Pod 一般有3种方式使用 secret:
- - 作为 volume 中的文件被挂载到 pod 中的一个或者多个容器里
- - 环境变量
- - 当 Kubelet 为 pod 拉取镜像时使用(imagePullSecret)
| 类型 | 功能描述 |
| Opaque | 用来存储密码、密钥等,使用base64编码格式 |
| kubernetes.io/dockerconfigjson | 也称imagePullSecrets,用来存储私有docker registry的认证信息 |
| kubernetes.io/service-account-token | 用于被serviceaccount引用。 serviceaccout创建时Kubernetes会默认创建对应的 secret。 Pod如果使用了serviceaccount,对应的secret会自动挂载到Pod的 /run/secrets/kubernetes.io/serviceaccount目录中 |
Secret - Opaque类型定义
Opaque类型的数据是一个map类型,要求value是base64编码格式
以数据库用户名(admin => YWRtaW4=)、密码(1f2d1e2e67df => MWYyZDFlMmU2N2Rm)为例:
# base64 解码
$ echo "MWYyZDFlMmU2N2Rm" | base64 --decode
1f2d1e2e67df
Secret - dockerconfigjson类型
kubernetes.io/dockerconfigjson类型secret是将包含Docker Registry凭证传递给 Kubelet 的一种方式,可以用来为Pod拉取私有镜像
$ kubectl create secret docker-registry myregistrykey --docker-server=DOCKER_REGISTRY_SERVER --dockerusername=DOCKER_USER --docker-password=DOCKER_PASSWORD --docker-email=DOCKER_EMAIL
secret/myregistrykey created.
OR: 从docker配置文件导入
$ kubectl create secret docker-registry myregistrykey –from-file=“~/.dockercfg”
$ kubectl get secret myregistrykey -o yaml
kind: Secret type: kubernetes.io/dockerconfigjson data: .dockerconfigjson: eyJhdXRocyI6eyJET0NLRVJfUkVHSVNUUllfU0VSVkVSIjp7InVzZXJuYW1lIjoiRE9DS0VSX1VTRVIiLCJwYXNzd29yZCI6IkRPQ0tFU l9QQVNTV09SRCIsImVtYWlsIjoiRE9DS0VSX0VNQUlMIiwiYXV0aCI6IlJFOURTMFZTWDFWVFJWSTZSRTlEUzBWU1gxQkJVMU5 YVDFKRSJ9fX0= metadata: name: myregistrykey
Service Account
Service Account用于Pod中的进程访问API Server
- - 相对于客户端使用的user account(全局权限),为Pod内的进程提供身份标识
为什么需要Service Account?
- - 客户端授权方式是“全授权”,可以任意操作集群!需要更轻量和精准的方式。
default Service Account
- - 当namespace创建时,会自动创建一个名为default的Service Account
- - 当default的Service Account创建时,会自动在同namespace下创建一个default-token-XXX,并关联到default的Service
- Account上
- - 创建Pod时,如果没有指定Service Account, K8S的Service Account Admission Controller会自动为该Pod指定default Service Account
Pod关联Service Account
- - K8S会给Pod创建一个特殊的Volume,该Volume中包含指定Service Account Secret的token, namespace,证书文件,并将Volume挂载到Pod中所有容器的指定目录下(/var/run/secrets/kubernetes.io/serviceaccount)
认证环节
- - 用户名 system:serviceaccount:(NAMESPACE):(SERVICEACCOUNT)
- - 凭证 service account token
ServiceAccount使用
让Pod访问API Server
- - 容器应用读取/var/run/secrets/kubernetes.io/serviceaccount/token文件,使用token认证方式访问API Server
- - client-go做了封装
Kubectl使用ServiceAccount token访问API Server
- ① 查看指定namespace(如default)下的ServiceAccount,获取Secret
- ② 查看Secret,获取token
- ③ 设置kubeconfig中设置token
- ④ 使用kubectl访问
再看service-account-token类型Secret
创建Service Accout, K8S默认会创建对应的Secret
Secret使用:
kubernetes.io/service-account-token类型的Secret对应Pod中的ca.crt(API Server的CA公钥证书), namespace,
token(用API Server私钥签发的bearer token)三个文件:
- ① /run/sercrets/kubernetes.io/serviceaccount/token
- ② /run/sercrets/kubernetes.io/serviceaccount/ca.crt
- ③ /run/sercrets/kubernetes.io/serviceaccount/namespace










