在服务器上使用某些软件时需要开启相应的防火墙端口号,简单了解下Linux防火墙端口*
防火墙策略
防火墙策略可以基于流量的源目地址、端口号、协议、应用等信息来定制,然后防火墙使用预先定制的策略规则监控出入的流量,若流量与某一条策略规则相匹配,则执行相应的处理,否则则丢弃。起到一个过滤的作用,保证了主机的安全。
查看firewall服务状态
systemctl status firewalld

开启、重启、关闭、firewalld.service服务
1.开启
service firewalld start
2.重启
service firewalld restart
3.关闭
service firewalld stop
4. 查看防火墙规则
firewall-cmd --list-all # 查看全部信息
firewall-cmd --list-ports # 只看端口信息

5.开启端口
开端口命令:firewall-cmd --zone=public --add-port=8080/tcp --permanent
重启防火墙服务:systemctl restart firewalld.service
命令含义:
--zone #作用域
--add-port=80/tcp #添加端口,格式为:端口/通讯协议
--permanent #永久生效,没有此参数重启后失效
例如:开启端口6380协议位tcp 永久生效 作用域为全部
firewall-cmd --zone=public --add-port=6380/tcp --permanent

开启成功!
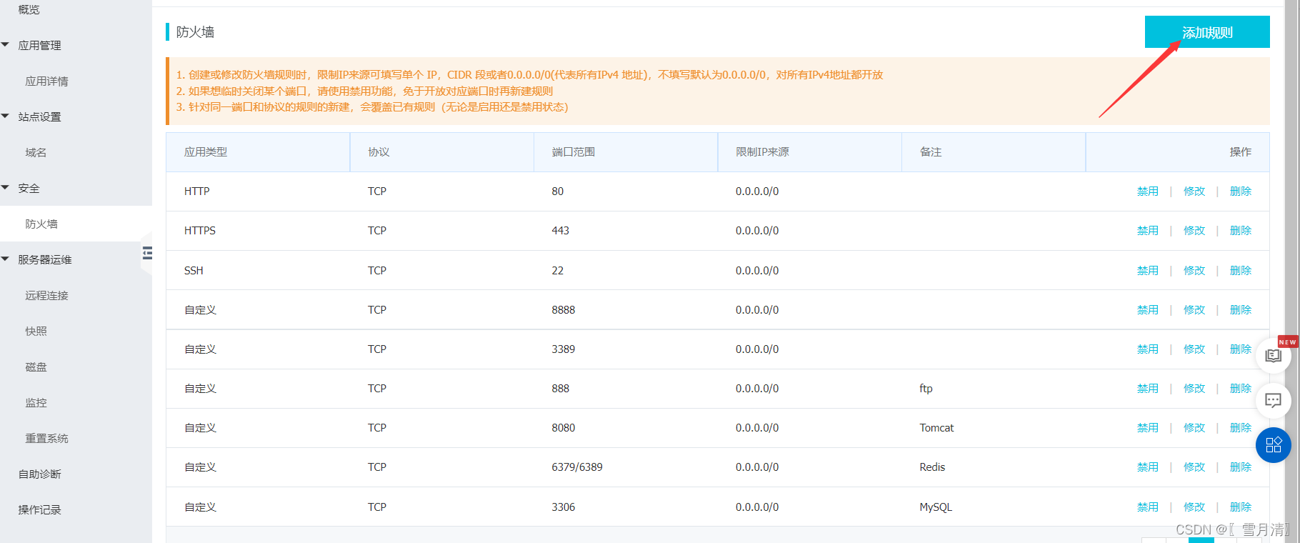
注意:如果使用Xshell远程连接开启防火墙端口后,还需要在阿里云服务器中安全中的防火墙添加相应端口规则