0 问题背景
随着微服务架构的流行,服务按照不同的维度进行拆分 ,一次请求往往需要涉及到多个服务。互联网应用构建在不同的软件模块集上 ,这些软件模块,有可能是由不同的团队开发、可能使用不同的编程语言来实现、有可能布在了几千台服务器,横跨多个不同的数据中心 。因此,就需要一些可以帮助理解系统行为、用于分析性能问题的工具,以便发生故障的时候,能够快速定位和解决问题。
全链路监控组件就在这样的问题背景下产生了。最出名的是谷歌公开的论文提到的 Google Dapper。想要在这个上下文中理解分布式系统的行为,就需要监控那些横跨了不同的应用、不同的服务器之间的关联动作 。
所以,在复杂的微服务架构系统中,几乎每一个前端请求都会形成一个复杂的分布式服务调用链路 。一个请求完整调用链可能如下图所示:
一个请求完整调用链
那么在业务规模不断增大、服务不断增多以及频繁变更的情况下,面对复杂的调用链路就带来一系列问题:
- 如何快速发现问题?
- 如何判断故障影响范围?
- 如何梳理服务依赖以及依赖的合理性?
- 如何分析链路性能问题以及实时容量规划?
同时我们会关注在请求处理期间各个调用的各项性能指标 ,比如:吞吐量(TPS)、响应时间及错误记录等。
- 吞吐量 ,根据拓扑可计算相应组件、平台、物理设备的实时吞吐量。
- 响应时间 ,包括整体调用的响应时间和各个服务的响应时间等。
- 错误记录 ,根据服务返回统计单位时间异常次数。
全链路性能监控 从整体维度到局部维度展示各项指标 ,将跨应用的所有调用链性能信息集中展现,可方便度量整体和局部性能,并且方便找到故障产生的源头,生产上可极大缩短故障排除时间。
有了全链路监控工具,我们能够达到:
- 请求链路追踪,故障快速定位 :可以通过调用链结合业务日志快速定位错误信息。
- 可视化 :各个阶段耗时,进行性能分析。
- 依赖优化 :各个调用环节的可用性、梳理服务依赖关系以及优化。
- 数据分析,优化链路 :可以得到用户的行为路径,汇总分析应用在很多业务场景。
1 目标要求
如上所述,那么我们选择全链路监控组件有哪些目标要求呢?Google Dapper中也提到了,总结如下:
- 探针的性能消耗
APM组件服务的影响应该做到足够小。服务调用埋点本身会带来性能损耗,这就需要调用跟踪的低损耗,实际中还会通过配置采样率的方式,选择一部分请求去分析请求路径 。在一些高度优化过的服务,即使一点点损耗也会很容易察觉到,而且有可能迫使在线服务的部署团队不得不将跟踪系统关停。 - 代码的侵入性
即也作为业务组件,应当尽可能少入侵或者无入侵其他业务系统,对于使用方透明,减少开发人员的负担 。
对于应用的程序员来说,是不需要知道有跟踪系统这回事的。如果一个跟踪系统想生效,就必须需要依赖应用的开发者主动配合,那么这个跟踪系统也太脆弱了,往往由于跟踪系统在应用中植入代码的bug或疏忽导致应用出问题,这样才是无法满足对跟踪系统“无所不在的部署”这个需求。 - 可扩展性
一个优秀的调用跟踪系统必须支持分布式部署,具备良好的可扩展性。能够支持的组件越多当然越好 。或者提供便捷的插件开发API,对于一些没有监控到的组件,应用开发者也可以自行扩展。 - 数据的分析
数据的分析要快 ,分析的维度尽可能多 。跟踪系统能提供足够快的信息反馈,就可以对生产环境下的异常状况做出快速反应。分析的全面,能够避免二次开发 。
2 功能模块
一般的全链路监控系统,大致可分为四大功能模块:
- 埋点与生成日志
埋点即系统在当前节点的上下文信息,可以分为 客户端埋点、服务端埋点,以及客户端和服务端双向型埋点 。埋点日志通常要包含以下内容traceId、spanId、调用的开始时间,协议类型、调用方ip和端口,请求的服务名、调用耗时,调用结果,异常信息等,同时预留可扩展字段,为下一步扩展做准备;
不能造成性能负担 :一个价值未被验证,却会影响性能的东西,是很难在公司推广的!
因为要写log,业务QPS越高,性能影响越重。通过采样和异步log解决 。
- 收集和存储日志
主要支持分布式日志采集的方案,同时增加MQ作为缓冲;
- 每个机器上有一个 deamon 做日志收集,业务进程把自己的Trace发到daemon,daemon把收集Trace往上一级发送;
- 多级的collector ,类似pub/sub架构,可以负载均衡;
- 对聚合的数据进行 实时分析和离线存储 ;
- 离线分析 需要将同一条调用链的日志汇总在一起;
- 分析和统计调用链路数据,以及时效性
调用链跟踪分析 :把同一TraceID的Span收集起来,按时间排序就是timeline。把ParentID串起来就是调用栈 。
抛异常或者超时,在日志里打印TraceID。利用TraceID查询调用链情况,定位问题。
依赖度量 :
离线分析 :按TraceID汇总,通过Span的ID和ParentID还原调用关系,分析链路形态。
实时分析 :对单条日志直接分析,不做汇总,重组。得到当前QPS,延迟。
- 强依赖 :调用失败会直接中断主流程
- 高度依赖 :一次链路中调用某个依赖的几率高
- 频繁依赖 :一次链路调用同一个依赖的次数多
- 展现以及决策支持
3 Google Dapper
3.1 Span
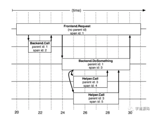
基本工作单元 ,一次链路调用(可以是RPC,DB等没有特定的限制)创建一个span,通过一个64位ID标识它,uuid较为方便,span中还有其他的数据,例如描述信息,时间戳,key-value对的(Annotation)tag信息,parent_id等,其中parent-id可以表示span调用链路来源。
上图说明了span在一次大的跟踪过程中是什么样的。Dapper记录了span名称,以及每个span的ID和父ID,以重建在一次追踪过程中不同span之间的关系 。如果一个span没有父ID被称为root span。所有span都挂在一个特定的跟踪上,也共用一个跟踪id 。
Span数据结构 :
type Span struct { TraceID int64 // 用于标示一次完整的请求id Name string ID int64 // 当前这次调用span_id ParentID int64 // 上层服务的调用span_id 最上层服务parent_id为null Annotation []Annotation // 用于标记的时间戳 Debug bool }
3.2 Trace
类似于 树结构的Span集合 ,表示一次完整的跟踪,从请求到服务器开始,服务器返回response结束,跟踪每次rpc调用的耗时,存在唯一标识trace_id。比如:你运行的分布式大数据存储一次Trace就由你的一次请求组成。
每种颜色的note标注了一个span,一条链路通过TraceId唯一标识,Span标识发起的请求信息。树节点是整个架构的基本单元,而每一个节点又是对span的引用 。节点之间的连线表示的span和它的父span直接的关系。虽然span在日志文件中只是简单的代表span的开始和结束时间,他们在整个树形结构中却是相对独立的。
3.3 Annotation
注解,用来记录请求特定事件相关信息(例如时间),一个span中会有多个annotation注解描述 。通常包含四个注解信息:
(1) cs :Client Start,表示客户端发起请求 (2) sr :Server Receive,表示服务端收到请求 (3) ss :Server Send,表示服务端完成处理,并将结果发送给客户端 (4) cr :Client Received,表示客户端获取到服务端返回信息
Annotation数据结构 :
type Annotation struct { Timestamp int64 Value string Host Endpoint Duration int32 }
3.4 调用示例
- 请求调用示例
- 请求调用示例
- 当用户发起一个请求时,首先到达前端A服务,然后分别对B服务和C服务进行RPC调用;
- B服务处理完给A做出响应,但是C服务还需要和后端的D服务和E服务交互之后再返还给A服务,最后由A服务来响应用户的请求;
- 调用过程追踪
整个调用过程追踪
- 请求到来生成一个全局TraceID ,通过TraceID可以串联起整个调用链,一个TraceID代表一次请求。
- 除了TraceID外,还需要SpanID用于记录调用父子关系 。每个服务会记录下parent id和span id,通过他们可以组织一次完整调用链的父子关系 。
- 一个没有parent id的span成为root span,可以看成调用链入口。
- 所有这些ID可用全局唯一的64位整数表示;
- 整个调用过程中每个请求都要透传TraceID和SpanID 。
- 每个服务将该次请求附带的TraceID和附带的SpanID作为parent id记录下,并且将自己生成的SpanID也记录下。
- 要查看某次完整的调用则 只要根据TraceID查出所有调用记录,然后通过parent id和span id组织起整个调用父子关系 。
- 调用链核心工作
- 调用链数据生成 ,对整个调用过程的所有应用进行埋点并输出日志。
- 调用链数据采集 ,对各个应用中的日志数据进行采集。
- 调用链数据存储及查询 ,对采集到的数据进行存储,由于日志数据量一般都很大,不仅要能对其存储,还需要能提供快速查询。
- 指标运算、存储及查询 ,对采集到的日志数据进行各种指标运算,将运算结果保存起来。
- 告警功能 ,提供各种阀值警告功能。
- 整体部署架构
整体部署架构
- 通过AGENT生成调用链日志。
- 通过logstash采集日志到kafka。
- kafka负责提供数据给下游消费。
- storm计算汇聚指标结果并落到es。
- storm抽取trace数据并落到es,这是为了提供比较复杂的查询 。比如通过时间维度查询调用链,可以很快查询出所有符合的traceID,根据这些traceID再去 Hbase 查数据就快了 。
- logstash将kafka原始数据拉取到hbase中。hbase的rowkey为traceID,根据traceID查询是很快的 。
- AGENT无侵入部署
通过AGENT代理无侵入式部署,将性能测量与业务逻辑完全分离,可以测量任意类的任意方法的执行时间,这种方式大大提高了采集效率,并且减少运维成本。根据服务跨度主要分为两大类AGENT :
- 服务内AGENT ,这种方式是通过 Java 的agent机制,对服务内部的方法调用层次信息进行数据收集,如方法调用耗时、入参、出参等信息。
- 跨服务AGENT ,这种情况需要对主流RPC框架以插件形式提供无缝支持。并通过提供标准数据规范以适应自定义RPC框架:
(1)Dubbo支持; (2)Rest支持; (3)自定义RPC支持;
- 调用链监控好处
- 准确掌握生产一线应用部署情况 ;
- 从调用链全流程性能角度,识别对关键调用链,并进行优化 ;
- 提供可追溯的性能数据 ,量化 IT 运维部门业务价值;
- 快速定位代码性能问题 ,协助开发人员持续性的优化代码;
- 协助开发人员进行白盒测试 ,缩短系统上线稳定期;
4 方案比较
市面上的全链路监控理论模型大多都是借鉴Google Dapper论文,本文重点关注以下三种APM组件:
- Zipkin :由Twitter公司开源,开放源代码分布式的跟踪系统,用于收集服务的定时数据,以解决微服务架构中的延迟问题,包括:数据的收集、存储、查找和展现。
- Pinpoint :一款对Java编写的大规模分布式系统的APM工具,由韩国人开源的分布式跟踪组件。
- Skywalking :国产的优秀APM组件,是一个对JAVA分布式应用程序集群的业务运行情况进行追踪、告警和分析的系统。
以上三种全链路监控方案需要对比的项提炼出来 :
- 探针的性能
主要是agent对服务的吞吐量、CPU和内存的影响。微服务的规模和动态性使得数据收集的成本大幅度提高。 - collector的可扩展性
能够水平扩展以便支持大规模服务器集群。 - 全面的调用链路数据分析
提供代码级别的可见性以便轻松定位失败点和瓶颈。 - 对于开发透明,容易开关
添加新功能而无需修改代码,容易启用或者禁用。 - 完整的调用链应用拓扑
自动检测应用拓扑,帮助你搞清楚应用的架构
4.1 探针的性能
比较关注探针的性能,毕竟APM定位还是工具,如果启用了链路监控组建后,直接导致吞吐量降低过半,那也是不能接受的。对skywalking、zipkin、pinpoint进行了压测,并与基线(未使用探针)的情况进行了对比。
选用了一个常见的基于Spring的应用程序,他包含Spring Boot, Spring MVC,redis客户端,mysql。监控这个应用程序,每个trace,探针会抓取5个span(1 Tomcat, 1 SpringMVC, 2 Jedis, 1 Mysql)。这边基本和 skywalkingtest 的测试应用差不多。
模拟了三种并发用户:500,750,1000。使用jmeter测试,每个线程发送30个请求,设置思考时间为10ms。使用的采样率为1,即100%,这边与生产可能有差别。pinpoint默认的采样率为20,即50%,通过设置agent的配置文件改为100%。zipkin默认也是1。组合起来,一共有12种。下面看下汇总表:
探针性能对比
从上表可以看出,在三种链路监控组件中,skywalking的探针对吞吐量的影响最小,zipkin的吞吐量居中。pinpoint的探针对吞吐量的影响较为明显 ,在500并发用户时,测试服务的吞吐量从1385降低到774,影响很大。然后再看下CPU和memory的影响,在内部服务器进行的压测,对CPU和memory的影响都差不多在10%之内。
4.2 collector的可扩展性
collector的可扩展性,使得能够水平扩展以便支持大规模服务器集群。
- zipkin
开发zipkin-Server(其实就是提供的开箱即用包),zipkin-agent与zipkin-Server通过http或者mq进行通信,http通信会对正常的访问造成影响,所以还是推荐基于mq异步方式通信 ,zipkin-Server通过订阅具体的topic进行消费。这个当然是可以扩展的,多个zipkin-Server实例进行异步消费mq中的监控信息 。
zipkin
- skywalking
skywalking的collector支持两种部署方式:单机和集群模式。collector与agent之间的通信使用了gRPC 。 - pinpoint
同样,pinpoint也是支持集群和单机部署的。pinpoint agent通过thrift通信框架,发送链路信息到collector 。
4.3 全面的调用链路数据分析
全面的调用链路数据分析,提供代码级别的可见性以便轻松定位失败点和瓶颈。
- zipkin
zipkin链路调用分析
zipkin的链路监控粒度相对没有那么细 ,从上图可以看到调用链中具体到接口级别,再进一步的调用信息并未涉及。
- skywalking
skywalking链路调用分析
skywalking 还支持20+的中间件、框架、类库 ,比如:主流的dubbo、Okhttp,还有DB和消息中间件。上图skywalking链路调用分析截取的比较简单,网关调用user服务,由于支持众多的中间件,所以skywalking链路调用分析比zipkin完备些 。
- pinpoint
- pinpoint链路调用分析
pinpoint应该是这三种APM组件中,数据分析最为完备的组件 。提供代码级别的可见性以便轻松定位失败点和瓶颈,上图可以看到对于执行的sql语句,都进行了记录。还可以配置报警规则等,设置每个应用对应的负责人,根据配置的规则报警,支持的中间件和框架也比较完备。
4.4 对于开发透明,容易开关
对于开发透明,容易开关,添加新功能而无需修改代码,容易启用或者禁用。我们期望功能可以不修改代码就工作并希望得到代码级别的可见性。
对于这一点,Zipkin 使用修改过的类库和它自己的容器(Finagle)来提供分布式事务跟踪的功能 。但是,它要求在需要时修改代码。skywalking和pinpoint都是基于字节码增强的方式,开发人员不需要修改代码,并且可以收集到更多精确的数据因为有字节码中的更多信息 。
4.5 完整的调用链应用拓扑
自动检测应用拓扑,帮助你搞清楚应用的架构。
pinpoint链路拓扑
skywalking链路拓扑
zipkin链路拓扑
上面三幅图,分别展示了APM组件各自的调用拓扑,都能实现完整的调用链应用拓扑。相对来说,pinpoint界面显示的更加丰富,具体到调用的DB名,zipkin的拓扑局限于服务于服务之间 。
4.6 Pinpoint与Zipkin细化比较
4.6.1 Pinpoint与Zipkin差异性
- Pinpoint 是一个完整的性能监控解决方案 :有从探针、收集器、存储到 Web 界面等全套体系;而 Zipkin 只侧重收集器和存储服务 ,虽然也有用户界面,但其功能与 Pinpoint 不可同日而语。反而 Zipkin 提供有 Query 接口 ,更强大的用户界面和系统集成能力,可以基于该接口二次开发实现。
- Zipkin 官方提供有基于 Finagle 框架(Scala 语言)的接口 ,而其他框架的接口由社区贡献,目前可以支持 Java、Scala、Node、Go、Python、Ruby 和 C# 等主流开发语言和框架;但是 Pinpoint 目前只有官方提供的 Java Agent 探针 ,其他的都在请求社区支援中(请参见 #1759 和 #1760)。
- Pinpoint 提供有 Java Agent 探针,通过字节码注入的方式实现调用拦截和数据收集,可以做到真正的代码无侵入,只需要在启动服务器的时候添加一些参数,就可以完成探针的部署 ;而 Zipkin 的 Java 接口实现 Brave ,只提供了基本的操作 API,如果需要与框架或者项目集成的话,就需要手动添加配置文件或增加代码 。
- Pinpoint 的后端存储基于 HBase,而 Zipkin 基于 Cassandra 。
4.6.2 Pinpoint与Zipkin相似性
Pinpoint 与 Zipkin 都是基于 Google Dapper 的那篇论文,因此理论基础大致相同。两者都是将服务调用拆分成若干有级联关系的 Span,通过 SpanId 和 ParentSpanId 来进行调用关系的级联;最后再将整个调用链流经的所有的 Span 汇聚成一个 Trace,报告给服务端的 collector 进行收集和存储 。
即便在这一点上,Pinpoint 所采用的概念也不完全与那篇论文一致。比如他采用 TransactionId 来取代 TraceId,而真正的 TraceId 是一个结构,里面包含了 TransactionId, SpanId 和 ParentSpanId 。而且 Pinpoint 在 Span 下面又增加了一个 SpanEvent 结构,用来记录一个 Span 内部的调用细节(比如具体的方法调用等等),因此 Pinpoint 默认会比 Zipkin 记录更多的跟踪数据 。但是理论上并没有限定 Span 的粒度大小,所以一个服务调用可以是一个 Span,那么每个服务中的方法调用也可以是个 Span,这样的话,其实 Brave 也可以跟踪到方法调用级别,只是具体实现并没有这样做而已 。
4.6.3 字节码注入 vs API 调用
Pinpoint 实现了基于字节码注入的 Java Agent 探针,而 Zipkin 的 Brave 框架仅仅提供了应用层面的 API,但是细想问题远不那么简单。字节码注入是一种简单粗暴的解决方案,理论上来说无论任何方法调用,都可以通过注入代码的方式实现拦截,也就是说没有实现不了的,只有不会实现的 。但 Brave 则不同,其提供的应用层面的 API 还需要框架底层驱动的支持,才能实现拦截 。比如,MySQL 的 JDBC 驱动,就提供有注入 interceptor 的方法,因此只需要实现 StatementInterceptor 接口,并在 Connection String 中进行配置,就可以很简单的实现相关拦截;而与此相对的,低版本的 MongoDB 的驱动或者是 Spring Data MongoDB 的实现就没有如此接口,想要实现拦截查询语句的功能,就比较困难。
因此在这一点上,Brave 是硬伤,无论使用字节码注入多么困难,但至少也是可以实现的,但是 Brave 却有无从下手的可能,而且是否可以注入,能够多大程度上注入,更多的取决于框架的 API 而不是自身的能力。
4.6.4 难度及成本
经过简单阅读 Pinpoint 和 Brave 插件的代码,可以发现两者的实现难度有天壤之别。在都没有任何开发文档支撑的前提下,Brave 比 Pinpoint 更容易上手 。Brave 的代码量很少,核心功能都集中在 brave-core 这个模块下,一个中等水平的开发人员,可以在一天之内读懂其内容,并且能对 API 的结构有非常清晰的认识。
Pinpoint 的代码封装也是非常好的,尤其是针对字节码注入的上层 API 的封装非常出色,但是这依然要求阅读人员对字节码注入多少有一些了解,虽然其用于注入代码的核心 API 并不多,但要想了解透彻,恐怕还得深入 Agent 的相关代码,比如很难一目了然的理解 addInterceptor 和 addScopedInterceptor 的区别,而这两个方法就是位于 Agent 的有关类型中。
因为 Brave 的注入需要依赖底层框架提供相关接口,因此并不需要对框架有一个全面的了解,只需要知道能在什么地方注入,能够在注入的时候取得什么数据就可以了 。就像上面的例子,我们根本不需要知道 MySQL 的 JDBC Driver 是如何实现的也可以做到拦截 SQL 的能力。但是 Pinpoint 就不然,因为 Pinpoint 几乎可以在任何地方注入任何代码,这需要开发人员对所需注入的库的代码实现有非常深入的了解,通过查看其 MySQL 和 Http Client 插件的实现就可以洞察这一点,当然这也从另外一个层面说明 Pinpoint 的能力确实可以非常强大,而且其默认实现的很多插件已经做到了非常细粒度的拦截。
针对底层框架没有公开 API 的时候,其实 Brave 也并不完全无计可施,我们可以采取 AOP 的方式,一样能够将相关拦截注入到指定的代码中,而且显然 AOP 的应用要比字节码注入简单很多 。
以上这些直接关系到实现一个监控的成本,在 Pinpoint 的官方技术文档中,给出了一个参考数据。如果对一个系统集成的话,那么用于开发 Pinpoint 插件的成本是 100,将此插件集成入系统的成本是 0;但对于 Brave,插件开发的成本只有 20,而集成成本是 10 。从这一点上可以看出官方给出的成本参考数据是 5:1。但是官方又强调了,如果有 10 个系统需要集成的话,那么总成本就是 10 * 10 + 20 = 120,就超出了 Pinpoint 的开发成本 100,而且需要集成的服务越多,这个差距就越大。
4.6.5 通用性和扩展性
很显然,这一点上 Pinpoint 完全处于劣势,从社区所开发出来的集成接口就可见一斑。
Pinpoint 的数据接口缺乏文档,而且也不太标准(参考论坛讨论帖),需要阅读很多代码才可能实现一个自己的探针(比如 Node 的或者 PHP 的)。而且团队为了性能考虑使用了 Thrift 作为数据传输协议标准,比起 HTTP 和 JSON 而言难度增加了不少。
4.6.6 社区支持
这一点也不必多说,Zipkin 由 Twitter 开发,可以算得上是明星团队,而 Naver 的团队只是一个默默无闻的小团队(从 #1759 的讨论中可以看出)。虽然说这个项目在短期内不太可能消失或停止更新,但毕竟不如前者用起来更加放心。而且没有更多社区开发出来的插件,让 Pinpoint 只依靠团队自身的力量完成诸多框架的集成实属困难,而且他们目前的工作重点依然是在提升性能和稳定性上 。
4.6.7 其他
Pinpoint 在实现之初就考虑到了性能问题,www.naver.com 网站的后端某些服务每天要处理超过 200 亿次的请求,因此他们会选择 Thrift 的二进制变长编码格式、而且使用 UDP 作为传输链路,同时在传递常量的时候也尽量使用数据参考字典,传递一个数字而不是直接传递字符串等等。这些优化也增加了系统的复杂度:包括使用 Thrift 接口的难度、UDP 数据传输的问题、以及数据常量字典的注册问题等等。
相比之下,Zipkin 使用熟悉的 Restful 接口加 JSON,几乎没有任何学习成本和集成难度,只要知道数据传输结构,就可以轻易的为一个新的框架开发出相应的接口。
另外 Pinpoint 缺乏针对请求的采样能力,显然在大流量的生产环境下,不太可能将所有的请求全部记录,这就要求对请求进行采样,以决定什么样的请求是我需要记录的 。Pinpoint 和 Brave 都支持采样百分比,也就是百分之多少的请求会被记录下来。但是,除此之外 Brave 还提供了 Sampler 接口,可以自定义采样策略 ,尤其是当进行 A/B 测试的时候,这样的功能就非常有意义了。
4.6.8 总结
从短期目标来看,Pinpoint 确实具有压倒性的优势:无需对项目代码进行任何改动就可以部署探针、追踪数据细粒化到方法调用级别、功能强大的用户界面以及几乎比较全面的 Java 框架支持 。但是长远来看,学习 Pinpoint 的开发接口,以及未来为不同的框架实现接口的成本都还是个未知数。相反,掌握 Brave 就相对容易,而且 Zipkin 的社区更加强大,更有可能在未来开发出更多的接口 。在最坏的情况下,我们也可以自己通过 AOP 的方式添加适合于我们自己的监控代码,而并不需要引入太多的新技术和新概念。而且在未来业务发生变化的时候,Pinpoint 官方提供的报表是否能满足要求也不好说,增加新的报表也会带来不可以预测的工作难度和工作量。
5 Tracing和Monitor区别
Monitor可分为系统监控和应用监控 。系统监控比如CPU,内存,网络,磁盘等等整体的系统负载的数据,细化可具体到各进程的相关数据。这一类信息是直接可以从系统中得到的。应用监控需要应用提供支持,暴露了相应的数据 。比如应用内部请求的QPS,请求处理的延时,请求处理的error数,消息队列的队列长度,崩溃情况,进程垃圾回收信息等等。Monitor主要目标是发现异常,及时报警 。
Tracing的基础和核心都是调用链 。相关的metric大多都是围绕调用链分析得到的。Tracing主要目标是系统分析。提前找到问题比出现问题后再去解决更好 。
Tracing和应用级的Monitor技术栈上有很多共同点。都有数据的采集,分析,存储和展式。只是具体收集的数据维度不同,分析过程不一样。















