耐克获得AR系统专利,全民自主设计的时代要到了。

在你眼里耐克只是一个运动潮牌吗?你可能不会想到它也是一家追赶前沿科技潮流的公司,从3D打印到虚拟现实领域,都能看到耐克的身影。据镁客网获悉,耐克最近成功地注册了一个AR系统专利。
如果你是一个很喜欢DIY的人,或许对耐克的这个AR系统专利很感兴趣。这个AR系统在使用之前,需要戴上一个头显,使用者可以按照自己的想法进行鞋子、衣服的设计。举个例子,你可以选择自己喜欢的图案、花纹等虚拟设计元素,设置到产品上。这相当于你可以亲自定制耐克产品,完全属于自己独特的风格。

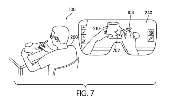
如专利图片所示,一个人正用笔状的外围设备挑选显示器中的设计元素,试图加在一双运动鞋上。通过这个AR系统,使用人不但可以修改设计元素中的细节,还可以按照喜好来配色。

这个AR系统不仅适用于设计运动鞋,还可以打造独特的T恤。如图所示,使用者正在用笔状外设挑选T恤的图案。如果自己动手设计衣服的话,出门再也不用担心撞衫了!不过,专利文件中并没有明确耐克这个AR系统,主要是针对消费者,以便其自主进行单品设计,还是只会向公司内部设计师开放。
最近,关于虚拟现实领域的产品层出不穷,似乎全面普及VR/AR不再遥远。未来,耐克将这个AR系统投入市场,会不会掀起全民自主设计的潮流呢?
原文发布时间:
2016-07-20 14:00
本文作者:
江一
本文来自云栖社区合作伙伴镁客网,了解相关信息可以关注镁客网。