如果你已经是一个射手,如果用真正的枪支进行练习的时间有限,玩这款游戏可以保持你的手感。

为了获得更好的游戏体验,许多VR发烧友乐意尝试比VR头显的控制器更逼真的外设。针对这类追求高质量体验的玩家,小编在这里推荐由Lead Tech公司开发的虚拟现实射击游戏CLAZER。这款游戏可以教你如何用猎枪击中飞行物体。如果你已经是一个射手,如果用真正的枪支进行练习的时间有限,玩这款游戏可以保持你的手感。
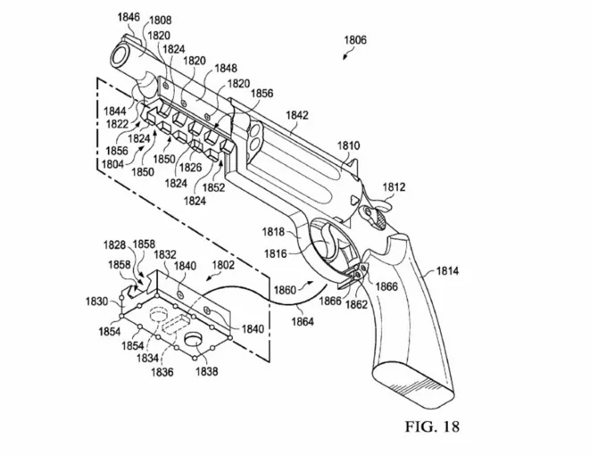
听起来CLAZER与普通的射击游戏没什么区别,但这是一款号称走在VR散弹枪射击前沿的游戏相关的专利。这是Lead Tech公司的扳机传动装置专利,能够装到真正的枪支上,让VR射击游戏更加带劲。据介绍,该装置仍处于开发阶段,后期目标是使之更加轻便以及适合多种不同枪型。专利文件如下图:

除此之外,CLAZER这款游戏为玩家开辟了一个独立的虚拟空间,不仅可以自由练习射击双向飞碟、运动飞靶,还可以训练射击手准确跟踪飞靶轨迹。虽然玩CLAZER很烧钱,但也是最有效的学习和练习射击游戏的方法,对射击运动员提供了全新的训练方式。
目前,CLAZER已经登陆HTC Vive、Oculus Rift和Gear VR商店。温馨提示,射击初学者可以尝试Gear VR,入门级射手建议使用Oculus Rift,专业级别的射击运动员最好使用HTC Vive系统。
在小编看来,游戏只是VR应用领域的一部分,VR在各行各业都有很强的生命力。拿这款VR射击游戏来说,已经不能简单定义为游戏,还可以运用于教育领域以及军事领域。
原文发布时间:
2017-01-16 14:17
本文作者:
江一
本文来自云栖社区合作伙伴镁客网,了解相关信息可以关注镁客网。