Linux技术基础(6)——文件管理

简介: 这是一个关于文件管理的实验指南,涵盖了`cat`, `cmp`, `diff`, `file`和`find`五个Linux命令。`cat`用于查看和操作文件内容,例如打印、连接和清空文件。`cmp`比较两个文件的差异,`diff`同样比较文件差异但提供更详细输出。`file`识别文件类型,而`find`则在指定目录中搜索文件。实验可在阿里云开发者平台的给定链接进行。

文件管理

实验地址:https://developer.aliyun.com/adc/scenario/322e2c2829df4342b6a8b03858b3ccd4

image.png

文件管理命令

cat

cat命令描述:该命令用于连接文件并打印到标准输出设备上。

cat命令语法:

cat [参数] [文件名]

参数说明:

image.png

cat命令使用示例:

执行如下命令,将一个自增序列写入test1.txt文件中。

for i in $(seq 1 10); do echo $i >> test1.txt ; done

执行如下命令,查看文件test1.txt内容。

cat test1.txt

image.png

执行如下命令,将test1.txt的文件内容加上行号后输入到test2.txt文件。

cat -n test1.txt > test2.txt

执行如下命令,查看文件test2.txt内容。

cat test2.txt

image.png

执行如下命令,将test1.txt文件内容清空。

cat /dev/null > test1.txt

执行如下命令,查看文件test1.txt内容。

cat test1.txt

返回结果如下所示,您可以看到test1.txt文件没有任何内容。

image.png

cmp

cmp命令描述:该命令用于比较两个文件是否有差异。当相互比较的两个文件完全一样时,该指令不会显示任何信息。否则会标示出第一个不同之处的字符和列数编号。当不指定任何文件名称,或文件名为"-",则cmp指令会从标准输入设备读取数据。

cmp命令语法:

cmp [-clsv][-i <字符数目>][--help][第一个文件][第二个文件]

参数说明:

image.png

cmp命令使用示例:

执行如下命令,将一个自增序列1-5写入test1.txt文件中。

for i in $(seq 1 5); do echo $i >> test1.txt ; done

image.png

执行如下命令,比较test1.txt文件和test2.txt文件是否相同。

cmp test1.txt test2.txt

返回结果如下所示,您可以看到test1.txt文件和test2.txt文件第一行就有不同之处。

image.png

diff

diff命令描述:该命令用于比较文件的差异。diff命令以逐行的方式,比较文本文件的异同处。如果指定要比较目录,则diff会比较目录中相同文件名的文件,但不会比较其中子目录。

diff命令语法:

diff [参数] [文件或目录1] [文件或目录2]

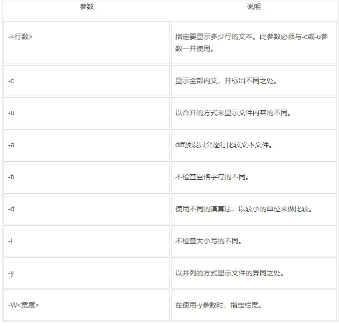
参数说明:

image.png

diff命令使用示例:

执行如下命令,比较test1.txt文件和test2.txt文件,以并排格式输出

diff test1.txt test2.txt -y -W 50

返回结果如下所示,您可以看到test1.txt文件和test2.txt文件的不同之处。

image.png

file

file命令描述:该命令用于辨识文件类型。

file命令语法:

file [参数] [文件]

参数说明:

image.png

file命令使用示例:

执行如下命令,显示test1.txt文件类型。

file test1.txt

返回结果如下所示,您可以看到test1.txt文件类型是ASCII text。

file -b test2.txt

image.png

执行如下命令,显示test2.txt文件类型并不显示文件名称

image.png

find

find命令描述:该命令用来在指定目录下查找文件。任何位于参数之前的字符串都将被视为欲查找的目录名。如果使用该命令时,不设置任何参数,则find命令将在当前目录下查找子目录与文件。并且将查找到的子目录和文件全部进行显示。

find命令语法:

find [参数] [文件]

参数说明:

image.png

find命令使用示例:

执行如下命令,将当前目录及其子目录下所有文件后缀为.txt的文件列出来。

find . -name "*.txt"

image.png

执行如下命令,查找系统中所有文件长度为0的普通文件,并列出它们的完整路径。

find / -type f -size 0 -exec ls -l {
   
   } \;

返回结果如下所示。

image.png

相关文章
|
5月前
|
Linux
在线对Linux进行磁盘扩容的技术指南。
综上所述,Linux磁盘扩容的过程,重要的不仅是技术,更是对每一步骤的深刻理解和投入的爱心。只要手握正确的工具,我们不仅能满足"孩子"的成长需求,还能享受其中的乐趣和成就。
325 10
|
Ubuntu Linux vr&ar
IM跨平台技术学习(十二):万字长文详解QQ Linux端实时音视频背后的跨平台实践
本文详细记录了新版QQ音视频通话在 Linux 平台适配开发过程中的技术方案与实现细节,希望能帮助大家理解在 Linux 平台从 0 到 1 实现音视频通话能力的过程。
456 2
|
9月前
|
安全 大数据 Linux
云上体验最佳的服务器操作系统 - Alibaba Cloud Linux | 飞天技术沙龙-CentOS 迁移替换专场
本次方案的主题是云上体验最佳的服务器操作系统 - Alibaba Cloud Linux ,从 Alibaba Cloud Linux 的产生背景、产品优势以及云上用户使用它享受的技术红利等方面详细进行了介绍。同时,通过国内某社交平台、某快递企业、某手机客户大数据业务 3 大案例,成功助力客户实现弹性扩容能力提升、性能提升、降本增效。 1. 背景介绍 2. 产品介绍 3. 案例分享
192 1
|
10月前
|
安全 Linux KVM
Linux虚拟化技术:从Xen到KVM
Xen和KVM是Linux平台上两种主要的虚拟化技术,各有优缺点和适用场景。通过对比两者的架构、性能、安全性、管理复杂性和硬件依赖性,可以更好地理解它们的适用场景和选择依据。无论是高性能计算、企业虚拟化还是云计算平台,合理选择和配置虚拟化技术是实现高效、稳定和安全IT环境的关键。
443 8
|
12月前
|
存储 Linux
Linux文件管理(超详细讲解)
Linux文件管理(超详细讲解)
599 5
|
12月前
|
存储 安全 Linux
Linux文件管理命令md5sum awk
通过结合 `md5sum`和 `awk`,不仅可以高效地进行文件完整性校验,还能灵活地处理和分析校验结果,为系统管理、数据审计等工作提供强大的支持。
279 2
|
12月前
|
Linux 虚拟化
Vmware 傻瓜式安装(不可不知道的Linux基础知识和技术 01)
本文介绍了VMware虚拟机的下载与安装步骤。首先,通过提供的网盘链接下载VMware安装包。接着,详细描述了安装流程,包括接受协议、选择安装路径(建议避免系统C盘)、取消更新选项等。最后,输入许可证密钥完成安装,并展示了打开虚拟机后的主界面。整个过程简单易懂,适合新手操作。
356 2
|
安全 Linux Android开发
Linux CFI (Control-flow integrity)技术相关资料汇总
Linux CFI (Control-flow integrity)技术相关资料汇总
|
存储 监控 Linux
在Linux中,如何进行虚拟化技术的应用?
在Linux中,如何进行虚拟化技术的应用?
|
安全 Linux 图形学
Linux平台Unity下RTMP|RTSP低延迟播放器技术实现
本文介绍了在国产操作系统及Linux平台上,利用Unity实现RTMP/RTSP直播播放的方法。通过设置原生播放模块的回调函数,可将解码后的YUV数据传递给Unity进行渲染,实现低延迟播放。此外,还提供了播放器启动、参数配置及停止的相关代码示例,并概述了如何在Unity中更新纹理以显示视频帧。随着国产操作系统的发展,此类跨平台直播解决方案的需求日益增长,为开发者提供了灵活高效的开发方式。
245 6