《NX-OS与Cisco Nexus交换技术:下一代数据中心架构(第2版)》一1.7 拓扑结构

简介:

本节书摘来自异步社区《NX-OS与Cisco Nexus交换技术:下一代数据中心架构(第2版)》一书中的第1章,第1.7节,作者 【美】Ron Fuller, CCIE#5851 , David Jansen, CCIE #5952 , Matthew McPherson,更多章节内容可以访问云栖社区“异步社区”公众号查看

1.7 拓扑结构

NX-OS与Cisco Nexus交换技术:下一代数据中心架构(第2版)
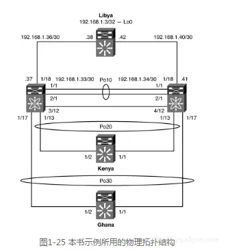
为了便于解释,本书将采用一个通用的拓扑结构,其物理拓扑结构如图 1-25 所示。


ff1ef09bdee6eae9cc638b44f2081ecd69e9529a
相关文章
|
机器学习/深度学习 数据处理 数据安全/隐私保护
DPU:数据中心与计算架构的革新引擎
【2月更文挑战第3天】
2227 1
DPU:数据中心与计算架构的革新引擎
|
5月前
|
Linux KVM 虚拟化
Cisco Nexus 9000v Switch, NX-OS Release 10.6(1)F - 虚拟化的数据中心交换机
Cisco Nexus 9000v Switch, NX-OS Release 10.6(1)F - 虚拟化的数据中心交换机
209 5
Cisco Nexus 9000v Switch, NX-OS Release 10.6(1)F - 虚拟化的数据中心交换机
|
监控 数据可视化 Linux
Cisco Nexus Dashboard 4.1(1g) 发布 - 云和数据中心网络管理软件
Cisco Nexus Dashboard 4.1(1g) - 云和数据中心网络管理软件
202 0
|
5月前
|
Devops API 语音技术
Cisco NX-OS 10.6(1)F 发布 - 数据中心网络操作系统
Cisco NX-OS 10.6(1)F 发布 - 数据中心网络操作系统
136 0
Cisco NX-OS 10.6(1)F 发布 - 数据中心网络操作系统
|
10月前
|
Devops API 语音技术
Cisco NX-OS Software Release 9.3(15) - 数据中心网络操作系统
Cisco NX-OS Software Release 9.3(15) - 数据中心网络操作系统
217 5
Cisco NX-OS Software Release 9.3(15) - 数据中心网络操作系统
|
10月前
|
存储 NoSQL Redis
阿里面试:Redis 为啥那么快?怎么实现的100W并发?说出了6大架构,面试官跪地: 纯内存 + 尖端结构 + 无锁架构 + EDA架构 + 异步日志 + 集群架构
阿里面试:Redis 为啥那么快?怎么实现的100W并发?说出了6大架构,面试官跪地: 纯内存 + 尖端结构 + 无锁架构 + EDA架构 + 异步日志 + 集群架构
阿里面试:Redis 为啥那么快?怎么实现的100W并发?说出了6大架构,面试官跪地: 纯内存 + 尖端结构 +  无锁架构 +  EDA架构  + 异步日志 + 集群架构
|
编解码 人工智能 文件存储
卷积神经网络架构:EfficientNet结构的特点
EfficientNet是一种高效的卷积神经网络架构,它通过系统化的方法来提升模型的性能和效率。
629 1
|
存储 前端开发 数据库
一文搞懂SaaS应用架构:应用服务、应用结构、应用交互设计
【10月更文挑战第21天】本文介绍了 SaaS 应用服务的多租户服务、安全服务和更新与维护服务,以及 SaaS 应用的前后端结构和交互设计。多租户服务涉及数据隔离和资源分配;安全服务包括身份认证与授权及数据安全;更新与维护服务涵盖版本管理和技术支持。前端结构关注用户界面设计和前端技术选型;后端结构则涉及微服务架构和数据库管理。交互设计强调租户与应用的交互和应用内部模块间的交互。
1343 0
|
运维 安全 SDN
网络拓扑设计与优化:构建高效稳定的网络架构
【8月更文挑战第17天】网络拓扑设计与优化是一个复杂而重要的过程,需要综合考虑多方面因素。通过合理的拓扑设计,可以构建出高效稳定的网络架构,为业务的顺利开展提供坚实的支撑。同时,随着技术的不断进步和业务需求的不断变化,网络拓扑也需要不断优化和调整,以适应新的挑战和机遇。
画好一张架构图/业务图/流程图问题之如何让图结构更清晰问题如何解决
画好一张架构图/业务图/流程图问题之如何让图结构更清晰问题如何解决
246 1