视觉智能平台头像分割接口被刷有办法吗?
版权声明:本文内容由阿里云实名注册用户自发贡献,版权归原作者所有,阿里云开发者社区不拥有其著作权,亦不承担相应法律责任。具体规则请查看《阿里云开发者社区用户服务协议》和《阿里云开发者社区知识产权保护指引》。如果您发现本社区中有涉嫌抄袭的内容,填写侵权投诉表单进行举报,一经查实,本社区将立刻删除涉嫌侵权内容。
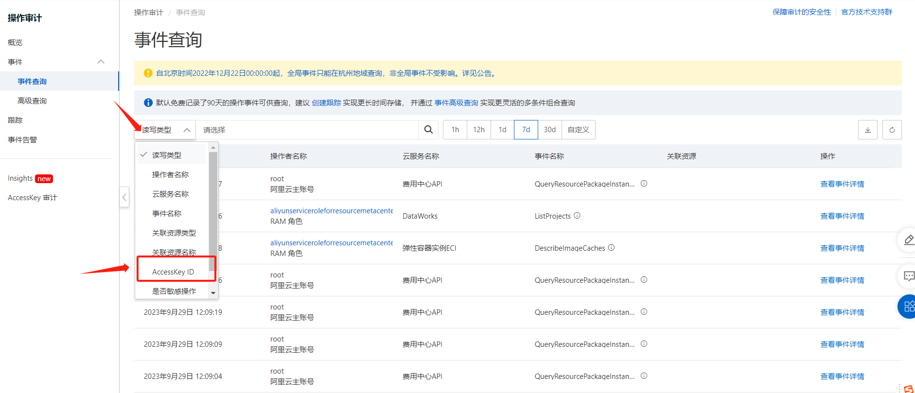
您好,您说的这个视觉智能开放平台头像分割被刷是指有未经你们允许的通过你们公司账号资源进行调用的情况吗,这里建议您可以检查一下对应的accesskey的调用记录,跳转控制台:https://actiontrail.console.aliyun.com/cn-shanghai/events
如果发现有被刷的情况您可以找到具体的子账号进行限制处理