基于内核驱动层加密的企业数据防泄密体系设计与实践——以 Ping32 为例

简介: 在数字化办公深化背景下,企业数据已突破内网边界,面临终端泄露、外发失控等新风险。传统边界安全失效,亟需转向“控制使用”的终端数据治理。基于内核驱动的透明加密技术(如Ping32),实现文件全生命周期自动加密与行为管控协同,兼顾安全强度与业务连续性,支撑合规审计与零信任落地。(239字)

在数字化办公持续深化的背景下,企业核心数据的流动路径正在快速扩展。研发文档、设计图纸、财务报表、客户资料等高价值数据,已不再局限于单一内网环境,而是频繁出现在终端设备、远程办公场景、跨部门协作流程以及对外文件交换过程中。

这意味着,传统依赖防火墙、VPN、网络隔离的边界式安全体系,正在面临新的挑战:

  • 数据已进入终端后如何持续保护;
  • 员工正常访问文件时如何防止泄露;
  • 文件外发后如何保持可控;
  • 合规审计要求下如何做到可追踪、可追责;
  • 不影响业务效率的前提下如何提升安全强度。

因此,越来越多企业开始将数据安全建设重点,从“阻止进入”转向“控制使用”,从网络边界控制转向终端数据治理。而其中,基于驱动层的透明加密技术,正成为企业级数据防泄密体系中的关键能力之一。

为什么传统加密方式难以满足企业落地需求

在数据保护领域,加密并不是新概念。但很多企业在实际建设过程中发现,传统加密方案往往存在以下问题:

1. 依赖人工操作,执行一致性不足

部分方案需要员工手动加密、解密或选择保护级别,一旦使用习惯不统一,就容易出现明文文件外流的情况。

2. 与业务流程割裂

当加密动作脱离用户日常办公流程时,容易带来频繁转换、兼容问题和额外培训成本,最终影响员工接受度。

3. 无法覆盖文件全生命周期

文件在创建、编辑、复制、上传、外发、归档等多个阶段都存在风险。若仅保护存储环节,仍可能在使用过程中泄露。

4. 管控能力与加密能力脱节

仅有加密,并不能解决截屏、拷贝、打印、非法外发、越权访问等问题。企业需要的是加密与行为控制协同生效的体系化能力。

因此,企业级数据保护方案的核心,不只是“能否加密”,而是能否在真实办公环境中持续、稳定、低感知地运行。


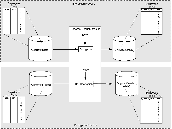
内核驱动层加密的价值:让保护能力深入操作系统底层

Ping32 为例,其文档加密能力采用内核驱动层技术路径,将数据保护机制部署在操作系统核心交互链路中,使加密策略能够在文件创建、读取、修改、复制、移动等关键行为发生时即时生效。

这类设计的价值主要体现在以下几个方面。

一、透明加密:安全能力融入日常办公流程

透明加密的核心目标,是让安全机制尽量不改变用户原有操作习惯。

员工在常用办公软件中创建文档、编辑文件、保存资料时,系统可根据预设策略自动完成加密处理。对于授权用户而言,文件打开与编辑过程保持正常体验;对于未授权环境,则无法以明文形式访问。

这意味着:

  • 用户无需手动执行加密动作;
  • 管理员无需依赖员工安全意识;
  • 数据保护可自动覆盖日常办公过程;
  • 安全策略更容易在组织内统一执行。

从管理视角看,透明加密解决的是“制度落不了地”的问题。


二、驱动层控制:在关键操作节点实施保护

相较于仅在应用层进行控制,驱动层方案能够更接近文件系统与系统调用链路,在关键操作发生时实施策略判断。

例如在以下场景中,可进行精细化控制:

  • 文件新建时自动纳入保护范围;
  • 文件复制到外设时执行限制策略;
  • 文件移动至非授权目录时触发拦截;
  • 非授权进程访问受保护文件时拒绝读取;
  • 异常批量操作时产生告警记录。

这种能力的价值在于,保护对象不再只是“某个应用”,而是“数据本身的流转行为”。

对于企业而言,这比单纯限制某个软件更具长期治理价值。


三、兼顾安全强度与业务连续性

企业在选择数据加密方案时,通常最关注两个问题:

  1. 会不会影响办公效率;
  2. 会不会破坏现有业务系统。

驱动层透明加密方案之所以被广泛采用,原因之一就在于其部署方式更容易适配现有环境。在不大规模改造原有业务系统的前提下,可逐步接入办公终端、文件服务器、共享目录及协作场景。

实际建设中,企业通常可按阶段推进:

第一阶段:核心部门保护

优先覆盖研发、财务、人事、法务等高敏部门。

第二阶段:跨部门协作治理

解决共享文档、项目资料、跨团队访问中的权限边界问题。

第三阶段:外发与审计闭环

强化对外发送、日志追踪、审批流程和风险响应能力。

这种渐进式落地路径,往往比一次性全面替换更具可行性。


四、加密之外,更需要行为管控协同

数据泄露的真实场景,往往不只发生在“文件被偷走”这一种形式中。更多时候,风险来自正常访问后的异常行为,例如:

  • 截图保存敏感页面;
  • 复制粘贴到外部系统;
  • 打印纸质文件后带离;
  • 上传至个人网盘;
  • 通过即时通讯工具外发。

因此,企业级数据防泄密体系必须实现“加密 + 管控 + 审计”的联动。

Ping32 为例,在文档加密之外,还可结合终端行为管理能力,对外设使用、打印行为、网络传输、应用操作等环节进行统一策略治理。

这类组合能力的价值在于:

  • 降低单点防护失效风险;
  • 提升策略执行一致性;
  • 建立完整审计链路;
  • 形成持续运营的数据安全机制。

五、满足合规要求的可追溯能力

随着 中华人民共和国 数据安全相关法规持续完善,企业越来越重视“留痕能力”和“责任界定能力”。

数据安全建设已不仅是技术问题,也涉及管理证明能力。例如:

  • 谁访问过敏感文件;
  • 是否发生越权读取;
  • 文件是否被外发;
  • 审批是否经过授权;
  • 异常操作发生在何时、何设备、何账户。

具备统一日志与审计能力的数据保护平台,能够帮助企业在内部治理、客户审计、监管检查等场景中提供必要支撑。

这也是许多组织将数据防泄密系统纳入长期建设规划的重要原因。


六、企业落地时需要关注的几个关键问题

任何安全方案都不是简单安装即可生效。为了取得更好的实施效果,企业在部署加密体系时,通常需要重点关注以下事项:

1. 策略颗粒度设计

不是所有文件都需要同等级保护。建议按部门、数据类型、业务场景进行分级治理。

2. 兼容性验证

在正式上线前,应对常用办公软件、设计软件、研发工具及内部系统进行测试验证。

3. 例外流程建设

安全控制越严格,越需要配套审批机制,确保业务特殊场景可快速响应。

4. 用户体验管理

任何终端安全策略,都需要平衡控制力度与员工使用感受,避免因过度限制带来绕行行为。

5. 持续运营机制

数据安全建设是长期过程,应持续优化规则、复盘事件、更新策略,而非一次性交付项目。


结语:数据保护的核心,是让安全真正进入业务流程

企业数据安全建设已经进入精细化阶段。相比过去单纯依赖边界设备或制度约束,组织现在更需要的是一种能够深入终端、贴合业务、持续生效的数据保护机制。

基于内核驱动层的透明加密技术,为企业提供了一种兼顾安全强度与业务可用性的实践路径。它的意义不在于增加一道额外操作,而在于让保护能力自然融入文件生命周期之中。

Ping32 为代表的解决方案,正在帮助越来越多企业从“被动防泄露”走向“主动治理数据风险”。

对于正在推进零信任建设、终端治理升级及合规体系完善的组织而言,这类技术路径值得纳入长期规划视角进行评估与实践。

相关文章
|
15天前
|
人工智能 数据可视化 安全
王炸组合!阿里云 OpenClaw X 飞书 CLI,开启 Agent 基建狂潮!(附带免费使用6个月服务器)
本文详解如何用阿里云Lighthouse一键部署OpenClaw,结合飞书CLI等工具,让AI真正“动手”——自动群发、生成科研日报、整理知识库。核心理念:未来软件应为AI而生,CLI即AI的“手脚”,实现高效、安全、可控的智能自动化。
34803 41
王炸组合!阿里云 OpenClaw X 飞书 CLI,开启 Agent 基建狂潮!(附带免费使用6个月服务器)
|
9天前
|
人工智能 自然语言处理 安全
Claude Code 全攻略:命令大全 + 实战工作流(建议收藏)
本文介绍了Claude Code终端AI助手的使用指南,主要内容包括:1)常用命令如版本查看、项目启动和更新;2)三种工作模式切换及界面说明;3)核心功能指令速查表,包含初始化、压缩对话、清除历史等操作;4)详细解析了/init、/help、/clear、/compact、/memory等关键命令的使用场景和语法。文章通过丰富的界面截图和场景示例,帮助开发者快速掌握如何通过命令行和交互界面高效使用Claude Code进行项目开发,特别强调了CLAUDE.md文件作为项目知识库的核心作用。
10095 30
Claude Code 全攻略:命令大全 + 实战工作流(建议收藏)
|
5天前
|
人工智能 JavaScript Ubuntu
低成本搭建AIP自动化写作系统:Hermes保姆级使用教程,长文和逐步实操贴图
我带着怀疑的态度,深度使用了几天,聚焦微信公众号AIP自动化写作场景,写出来的几篇文章,几乎没有什么修改,至少合乎我本人的意愿,而且排版风格,也越来越完善,同样是起码过得了我自己这一关。 这个其实OpenClaw早可以实现了,但是目前我觉得最大的区别是,Hermes会自主总结提炼,并更新你的写作技能。 相信就冲这一点,就值得一试。 这篇帖子主要就Hermes部署使用,作一个非常详细的介绍,几乎一步一贴图。 关于Hermes,无论你赞成哪种声音,我希望都是你自己动手行动过,发自内心的选择!
2032 21
|
27天前
|
人工智能 JSON 机器人
让龙虾成为你的“公众号分身” | 阿里云服务器玩Openclaw
本文带你零成本玩转OpenClaw:学生认证白嫖6个月阿里云服务器,手把手配置飞书机器人、接入免费/高性价比AI模型(NVIDIA/通义),并打造微信公众号“全自动分身”——实时抓热榜、AI选题拆解、一键发布草稿,5分钟完成热点→文章全流程!
45691 155
让龙虾成为你的“公众号分身” | 阿里云服务器玩Openclaw
|
2天前
|
人工智能 自然语言处理 安全
|
9天前
|
机器学习/深度学习 存储 人工智能
还在手写Skill?hermes-agent 让 Agent 自己进化能力
Hermes-agent 是 GitHub 23k+ Star 的开源项目,突破传统 Agent 依赖人工编写Aegnt Skill 的瓶颈,首创“自我进化”机制:通过失败→反思→自动生成技能→持续优化的闭环,让 Agent 在实践中自主构建、更新技能库,持续自我改进。
1640 5
|
16天前
|
人工智能 JSON 监控
Claude Code 源码泄露:一份价值亿元的 AI 工程公开课
我以为顶级 AI 产品的护城河是模型。读完这 51.2 万行泄露的源码,我发现自己错了。
5794 26
|
7天前
|
IDE Java 编译器
【全网最详细】JDK17下载安装图文教程 | Java17编程环境搭建步骤详解
JDK 17是Java官方长期支持(LTS)版本,提供编译、调试、运行Java程序的完整工具链。具备高稳定性、强安全性及现代语言特性(如密封类、模式匹配),广泛用于企业开发、教学入门与生产环境,是学习和实践Java的首选基础工具。(239字)
1197 15
下一篇
开通oss服务